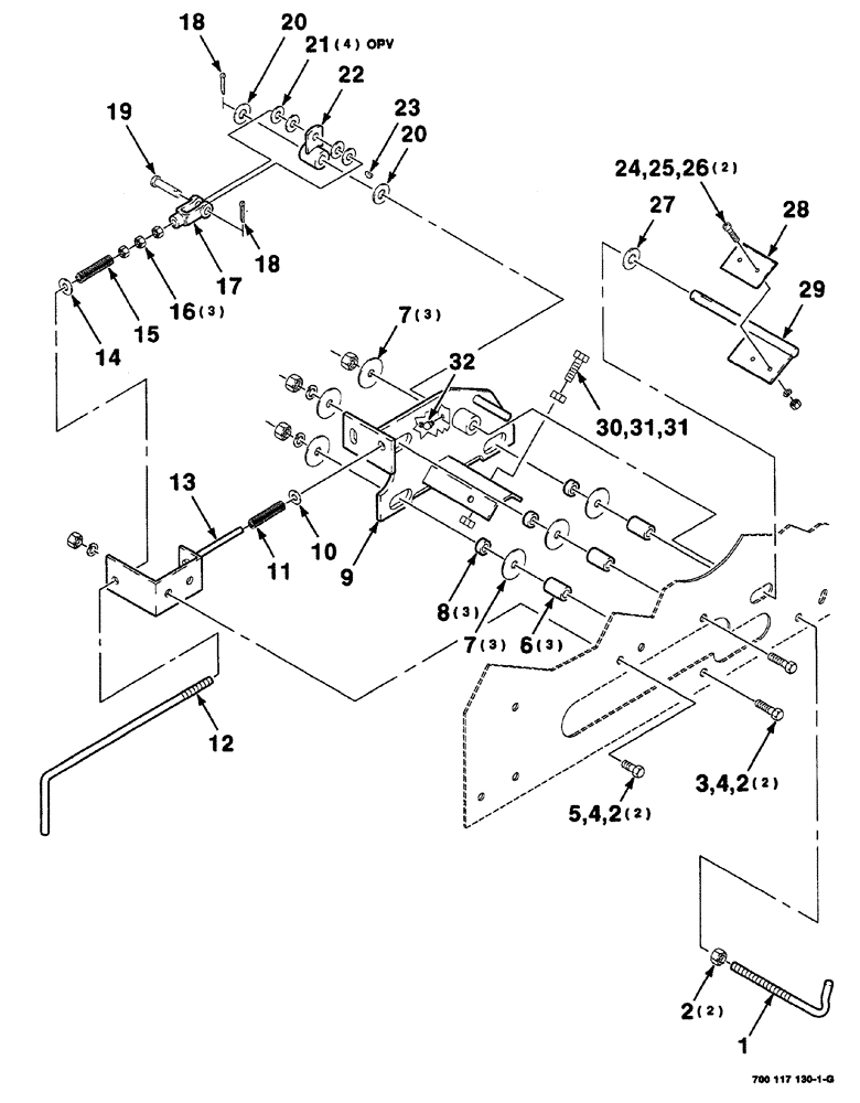
Запчасти Case IH 8420 (06-06) - THREADER ASSEMBLY (TWINE CUTOFF) (14) - BALE CHAMBER

Схема запчастей Case IH 8420 - (06-06) - THREADER ASSEMBLY (TWINE CUTOFF) (14) - BALE CHAMBER
31
31
24
19
8
5
21
22
18
30
4
25
29
4
7
2
15
27
13
16
20
18
14
32
23
12
2
11
1
9
6
3
17
26
2
20
28
7
10
FIT
1:1
100%

Артикул

Название

Примечание

Количество

1

700117238

ROD

twine, guide

1шт.

2

425-106

NUT,3/8"-16, Cl 5

6шт.

3

413-636

BOLT,Hex, 3/8" - 16 x 2-1/4", Gr 5

2шт.

4

492-11038

LOCK WASHER,3/8"

4шт.

5

413-616

BOLT,Hex, 3/8" - 16 x 1", Gr 5

2шт.

6

700116070

SPACER

3шт.

7

700710049

WASHER

fender, 3/8"

6шт.

8

6212740

SPACER

3шт.

9

700117227

SUPPORT

WA cutoff

1шт.

10

496-11028

WASHER,9/32" x 5/8" x .065, HDN

hardened plain, 1/4"

1шт.

11

700707200

COMPRESSION SPRING

1шт.

12

700115917

ROD

1шт.

13

700117224

SUPPORT

WA rod

1шт.

14

496-11041

WASHER,13/32" x 13/16" x .065", HDN

hardened plain, 3/8"

1шт.

15

58040

COMPRESSION SPRING

1шт.

16

425-116

NUT,3/8" - 24, Gr 5

Hex

3шт.

17

213-126

ADJUSTABLE CLEVIS,3/8"-24 x 2 1/2"

1шт.

18

432-816

COTTER PIN,1/8" x 1"

2шт.

19

63586

SHAFT

3/8" x 1-1/8"

1шт.

20

95-81101

WASHER,0.52" ID x 0.88" OD x 0.07" Thk

BUSHING machinery, narrow rim, 1/2" x 14

2шт.

21

495-11041

WASHER,0.406" ID x 0.812" OD x 0.065" W

4шт.

22

700117232

HUB

actuator

1шт.

23

126-114

WOODRUFF KEY,#7, 1/8" x 3/4", HT

1шт.

24

340-1108

SCREW,Cross Pan Hd, #10-24 x 1/2"

machine, cross recess pan head, #10-24 x 1/2"

2шт.

25

492-11010

LOCK WASHER,#10

2шт.

26

225-14110

NUT,#10-24

2шт.

27

705541

WASHER,0.53" ID x 1.06" OD x 0.14" Thk

hardened plain, 1/2"

1шт.

28

700106962

KNIFE

twine

1шт.

29

700117233

SUPPORT

MOUNT, WA knife

1шт.

30

413-528

BOLT,Hex, 5/16" - 18 x 1-3/4", Gr 5

1шт.

31

425-105

NUT,5/16"-18, G5

2шт.

32

219-90

LUBE NIPPLE,45 Degree Elbow, 1/4" -28 NPTF

ZERK, 1/4"-28 x 45°

1шт.

Выбрано товаров: 32