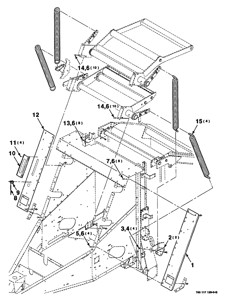
Запчасти Case IH 8420 (06-12) - ROLLER TIGHTENER MOUNTING ASSEMBLY (UPPER AND LOWER) (14) - BALE CHAMBER

Схема запчастей Case IH 8420 - (06-12) - ROLLER TIGHTENER MOUNTING ASSEMBLY (UPPER AND LOWER) (14) - BALE CHAMBER
15
1
14
3
11
6
6
13
8
12
2
7
9
14
10
5
6
6
6
4
FIT
1:1
100%

Артикул

Название

Примечание

Количество

1

700117186

FLANGE

front, left

1шт.

2

700101722

QUICK MALE COUPLING

ANCHOR

2шт.

3

409-7820

BOLT,Hex Flg, 1/2" - 13 x 1 1/4", Spcl

hex flange serrated, 1/2"-13 x 1-1/2"

4шт.

4

231-5148

FLANGE NUT,Flg, USR, 1/2"-13

4шт.

5

433-612

CARRIAGE BOLT,Sq Nk, 3/8" - 16 x 3/4", Gr 5

4шт.

6

231-5146

FLANGE NUT,3/8"-16

40шт.

7

434-612

CARRIAGE BOLT,Sht Sq Nk, 3/8" - 16 x 3/4", Gr 5

round head short square neck, 3/8"-16 x 3/4"

8шт.

8

7058993

SPRING

extension

1шт.

9

7894470

COUNTER

bale

1шт.

10

700117175

SUPPORT

gauge

1шт.

11

281-1478

SELF-TAP SCREW,1/4" - 20 x 1/2"

hex washer head thread cutting tapping, 1/4"-20 x 1/2"

4шт.

12

700117187

FLANGE

front, right

1шт.

13

409-7616

BOLT,Hex Flg, 3/8" - 16 x 1", Spcl

8шт.

14

434-616

CARRIAGE BOLT,Sht Sq Nk, 3/8" - 16 x 1", Gr 5

20шт.

15

7058910

SPRING

extension

4шт.

Выбрано товаров: 15