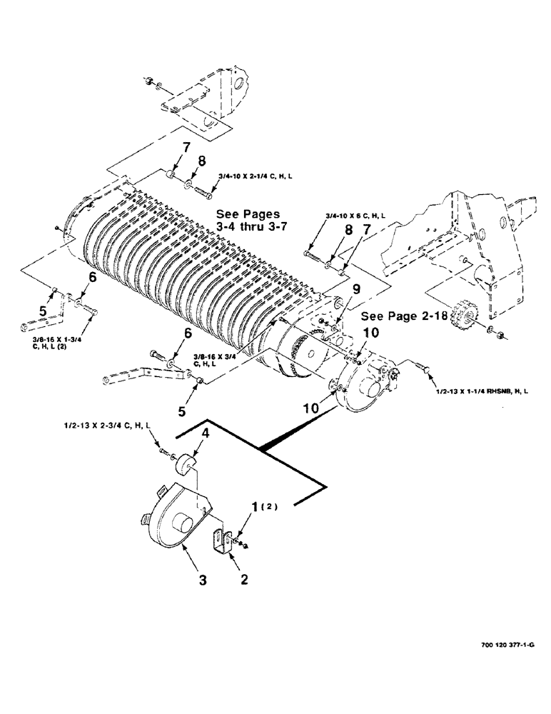
Запчасти Case IH 8430 (2-20) - PICKUP DRIVE AND MOUNTING ASSEMBLY Driveline

Схема запчастей Case IH 8430 - (2-20) - PICKUP DRIVE AND MOUNTING ASSEMBLY Driveline
7
2
5
7
3
8
10
5
4
6
9
8
1
6
10
FIT
1:1
100%

Артикул

Название

Примечание

Количество

1

700709605

WASHER,1/2"

1/2 WIDE PLAIN WASHER

2шт.

2

700120531

MOUNTING PARTS

MOUNT - shield

1шт.

3

700120526

SHIELD

WA - drive

1шт.

4

760728

BLOCK ASSY.

BLOCK - idler

1шт.

5

6856512

SPACER

2шт.

6

451526

THRUST WASHER

2шт.

7

6823512

SPACER

2шт.

8

705566

WASHER

3/4 HARDENED PLAIN WASHER

2шт.

9

705541

WASHER,0.53" ID x 1.06" OD x 0.14" Thk

1/2 HARDENED PLAIN WASHER

1шт.

10

705533

WASHER

3/8 HARDENED PLAIN WASHER

2шт.

7703499

BOLT,Hex, 5/16" - 18 x 3/4", Gr 5

3/8-16 x 3/4 C

1шт.

7701055

LEVER,Hex, 3/8" - 16 x 1 3/4", Gr 5

3/8-16 x 1-3/4 C

2шт.

703736

BOLT,Hex, 1/2" - 13 x 2 3/4", Gr 5

1/2-13 x 1-3/4 C

1шт.

7701329

SPECIAL BOLT,Hex 3/4" - 10 x 2 1/4", Gr 5

3/4-10 x 2-1/4 C

1шт.

7701535

CAPSCREW,3/4" - 10 x 6", Gr 5

3/4-10 x 6 C

1шт.

704023

NUT,3/8"-16, G5

3/8-16 H

3шт.

704031

NUT

1/2-13 H

2шт.

704528

NUT,3/4"-10, G5

3/4-10 H

2шт.

705038

CONTROL VALVE

3/8"

3шт.

80679

LOCK WASHER,1/20.507 CST ZND

WASHER, LOCK, 1/2"

1шт.

705111

LOCK WASHER,3/4"

3/4"

2шт.

Выбрано товаров: 0