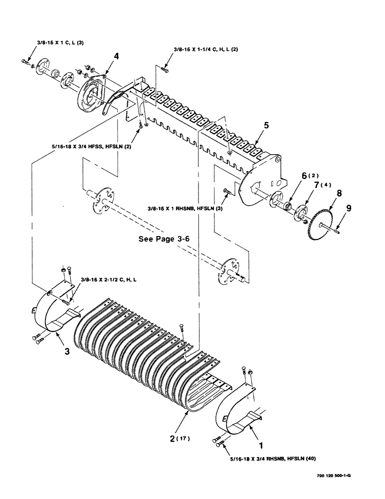
Запчасти Case IH 8430 (3-04) - PICKUP AND WRAPPER ASSEMBLY Pickup

Схема запчастей Case IH 8430 - (3-04) - PICKUP AND WRAPPER ASSEMBLY Pickup
3
6
9
4
1
7
5
8
2
FIT
1:1
100%

Артикул

Название

Примечание

Количество

1

700120515

SUPPORT

WRAPPER - end, left

1шт.

2

700120759

GUARD

WRAPPER

17шт.

3

700120516

SUPPORT

WRAPPER - end, right

1шт.

4

700116125

HOUSING

TRACK - cam

1шт.

5

700120502

FRAME

WA - pickup

1шт.

6

700708091

SPHERICAL BEARING,34.93 mm ID x 72 mm OD x 38.89 mm

BEARING - spherical

2шт.

7

617863R1

FLANGED BEARING

- bearing

4шт.

8

6284046

PINION

SPROCKET - 50 P, 45 tooth

1шт.

9

761213

KEY

5/16 x 5/16 x 1-1/2 GIB KEY

1шт.

703249

BOLT,Hex, 3/8" - 16 x 1", Gr 5

3/8-16 x 1 C

3шт.

702035

BOLT,Hex, 3/8" - 16 x 1 1/4", Gr 5, Full Thd

3/8-16 x 1-1/4 C

2шт.

7701899

BOLT,Hex, 3/8" - 16 x 2 1/2", Gr 5

3/8-16 x 2-1/2 C

1шт.

700013

CARRIAGE BOLT,Sq Nk, 5/16" - 18 x 3/4", Gr 5

5/16-18 x 3/4 RHSNB

23шт.

700047

BOLT

3/8-16 x 1 RHSNB

3шт.

703132

SERRATED SCREW

5/16-18 x 3/4 HFSS

19шт.

704023

NUT,3/8"-16, G5

3/8-16 H

3шт.

704239

FRONT AXLE

5/16-18 HFSLN

42шт.

704247

NUT

3/8-16 HFSLN

3шт.

705038

CONTROL VALVE

3/8"

6шт.

Выбрано товаров: 19