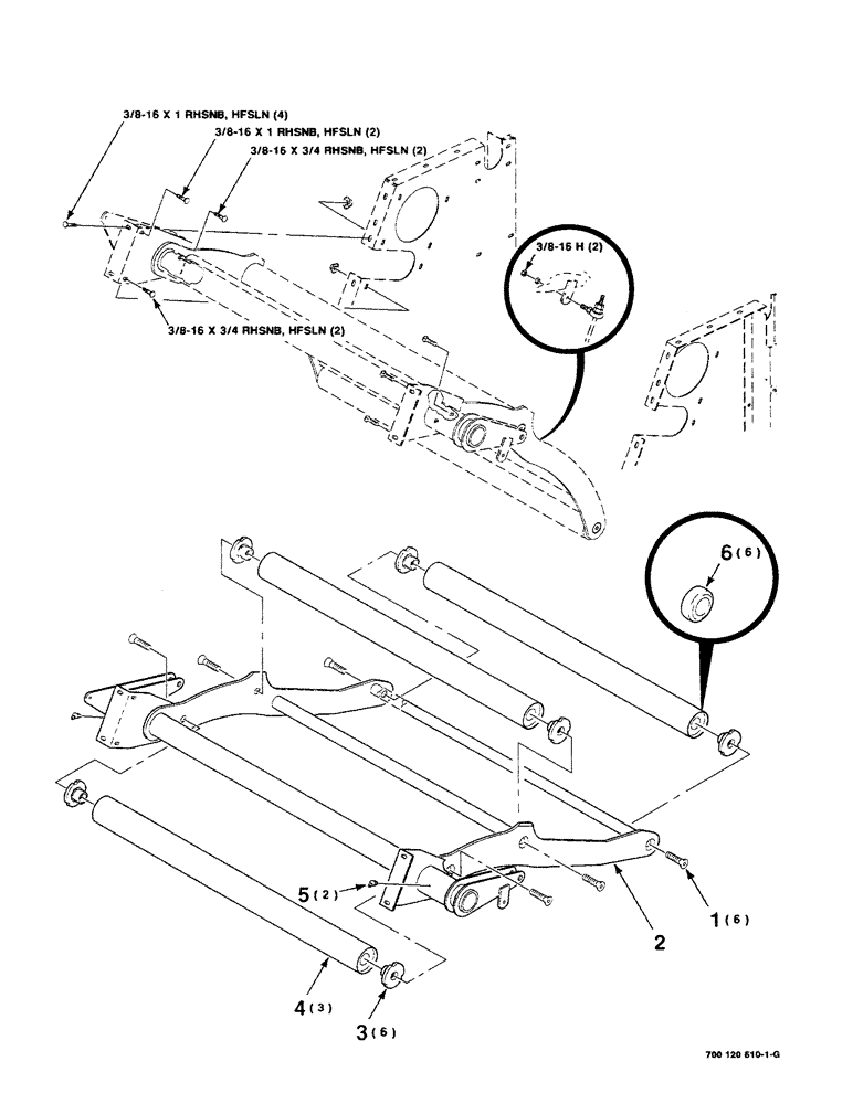
Запчасти Case IH 8430 (6-16) - BELT TENSIONER ROLLERS ASSEMBLY (14) - BALE CHAMBER

Схема запчастей Case IH 8430 - (6-16) - BELT TENSIONER ROLLERS ASSEMBLY (14) - BALE CHAMBER
3
5
1
4
6
2
FIT
1:1
100%

Артикул

Название

Примечание

Количество

1

700707981

SCREW,FLAT, 3/4" - 10 x 1-3/4"

3/4-10 x 1-3/4 HSFCHCS

6шт.

2

700120611

ARM

FRAME WA - idler

1шт.

3

700100927

HUB

6шт.

4

700107934

ROLL

ER ASSEMBLY (includes item 6)

3шт.

5

77040

FITTING

1/4-28 x 45deg. ZERK

2шт.

6

8050825

BEARING, ROLLER, CYL,38.1 mm ID x 80 mm OD x 30.163 mm

- cylindrical

6шт.

7700065

CARRIAGE BOLT,Sq Nk, 3/8" - 16 x 3/4", Gr 5

3/8-16 x 3/4 RHSNB

4шт.

700047

BOLT

3/8-16 x 1 RHSNB

6шт.

704023

NUT,3/8"-16, G5

3/8-16 H

2шт.

704247

NUT

3/8-16 HFSLN

10шт.

Выбрано товаров: 10