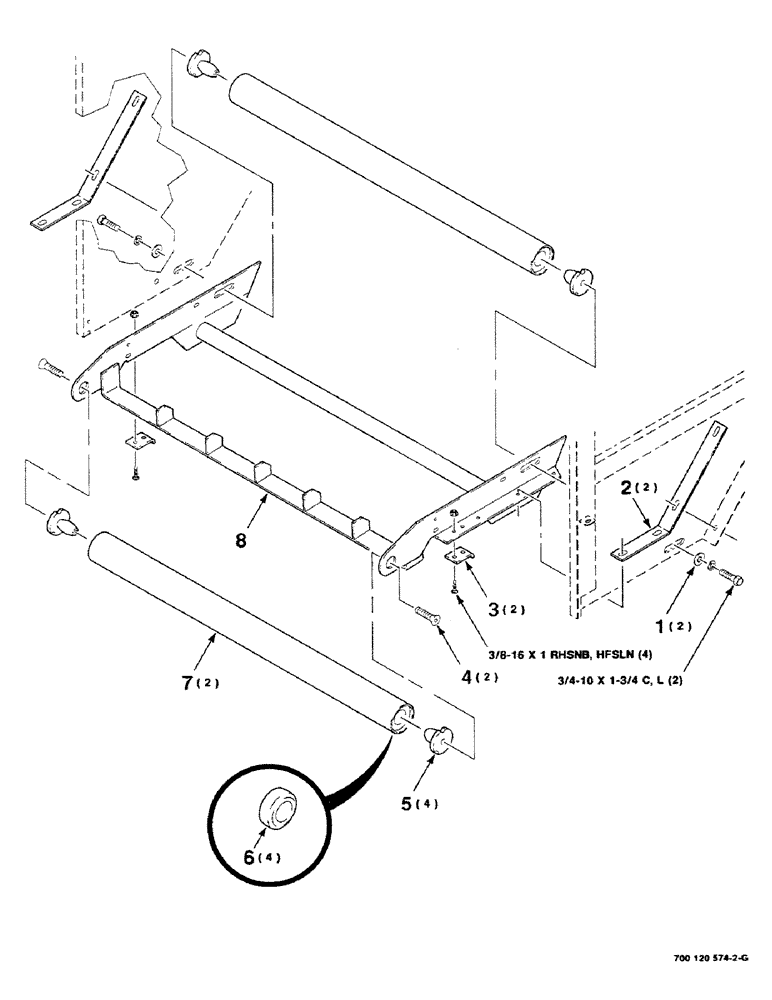
Запчасти Case IH 8430 (5-08) - TAILGATE ROLLERS ASSEMBLY (LOWER) (16) - BALE EJECTOR

Схема запчастей Case IH 8430 - (5-08) - TAILGATE ROLLERS ASSEMBLY (LOWER) (16) - BALE EJECTOR
3
6
4
5
1
7
2
8
FIT
1:1
100%

Артикул

Название

Примечание

Количество

1

705566

WASHER

3/4 HARDENED PLAIN WASHER

2шт.

2

700101633

STRAP

- support

2шт.

3

700101630

LATCH

2шт.

4

700707981

SCREW,FLAT, 3/4" - 10 x 1-3/4"

3/4-10 x 1-3/4 HSFCHCS

2шт.

5

700100927

HUB

4шт.

6

8050825

BEARING, ROLLER, CYL,38.1 mm ID x 80 mm OD x 30.163 mm

- cylindrical

4шт.

7

700116217

ROLL

ER ASSEMBLY (includes item 6)

2шт.

8

700120582

MOUNTING PARTS

MOUNT WA

1шт.

7761196

3/4-10 x 1-3/4 C

2шт.

700047

BOLT

3/8-16 x 1 RHSNB

4шт.

704247

NUT

3/8-16 HFSLN

4шт.

705111

LOCK WASHER,3/4"

3/4"

2шт.

Выбрано товаров: 12