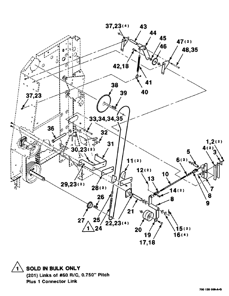
Запчасти Case IH 8435 (2-18) - DRIVE ASSEMBLY, SERIAL NUMBER CFH0124001 THROUGH CFH0124137 Driveline

Схема запчастей Case IH 8435 - (2-18) - DRIVE ASSEMBLY, SERIAL NUMBER CFH0124001 THROUGH CFH0124137 Driveline
44
7
4
22
20
38
26
43
5
31
48
8
23
9
34
14
13
11
29
8
37
36
34
15
33
16
23
32
17
19
24
45
2
25
47
6
28
3
46
10
42
35
40
12
1
27
35
30
41
18
21
23
23
18
23
39
37
FIT
1:1
100%

Артикул

Название

Примечание

Количество

1

121-108

BOLT,Hex Flg, 5/16"-18 x 1 1/4", Serr

5/16-18 X 1 HWHMS

2шт.

2

232-5315

FLANGE NUT,Flg, 5/16"-18

5/16-18 HFTLN GR/G

2шт.

3

700135054

PLATE

1шт.

4

700716006

SPRING

- leaf

2шт.

5

700135052

TUBE,25.4 mm OD, 71.5 mm Length

1шт.

6

425-118

NUT,1/2"-20, G5

1/2-20 H

3шт.

7

700135048

LEVER

WA

1шт.

8

219-8

LUBE NIPPLE,1/4" - 28 NPTF

NIPPLE, LUBE, 1/4"-28 NPT x .54" lg

2шт.

9

213-128

ADJUSTABLE CLEVIS,1/2"-20 x 3"

CLEVIS, ADJUSTABLE, 1/2"-20 x 3"

1шт.

10

700135047

ROD

1шт.

11

700716045

GUIDE

- chain

2шт.

12

432-1020

COTTER PIN,5/32" x 1 1/4"

PIN, SPLIT (COTTER), 5/32" x 1 1/4"

2шт.

13

766063

CLEVIS

1/2-20 UNF - LH clevis

1шт.

14

IH63677

CLEVIS PIN

PIN - clevis

2шт.

15

432-1632

COTTER PIN,1/4" x 2"

Pin, Split (Cotter), 1/4" x 2"

2шт.

16

52324

BUSHING

1-1/4 X 10 GAUGE NRMB

4шт.

17

413-1040

BOLT,Hex, 5/8" - 11 x 2-1/2", Gr 5

1шт.

18

232-53110

FLANGE NUT,Flg, 5/8"-11

5/8-11 HFTLN GR/G

2шт.

19

700135039

SUPPORT

WA

1шт.

20

700716004

PULLEY

IDLER - flat

1шт.

21

700135043

SUPPORT

WA

1шт.

22

433-620

CARRIAGE BOLT,Sq Nk, 3/8" - 16 x 1 1/4", Gr 5

BOLT, CARRIAGE, Short NK, 3/8"-16 x 1 1/4", G5

4шт.

23

232-5316

FLANGE NUT,Flg, 3/8"-16

3/8-16 HFTLN GR/G

13шт.

24

7086002

CHAIN (AG)

CHAIN - roller, #60 (10 foot bulk)

1шт.

25

241-1316

LINK,19.05mm Pitch

LINK - connector, #60

1шт.

26

Q81

KEY,Gib, 3/8" Sq x 1 3/4"

3/8 X 1-3/4 GIB KEY

1шт.

27

7850720

PINION

SPROCKET - 60B14 tooth

1шт.

28

700716044

PLATE

- guide

2шт.

29

434-616

CARRIAGE BOLT,Sht Sq Nk, 3/8" - 16 x 1", Gr 5

3/8-16 X 1 RHSNB

2шт.

30

433-644

CARRIAGE BOLT,Sq Nk, 3/8" - 16 x 2 3/4", Gr 5

3/8-16 X 2-3/4 RHSNB

2шт.

31

700132525

SUPPORT

- idler

1шт.

32

219-11

LUBE NIPPLE,1/4" - 28 NPTF

NIPPLE, LUBE, , Extended 1/4"-28 NPT x .94" lg

1шт.

33

413-864

BOLT,Hex, 1/2" - 13 x 4", Gr 5

1/2-13 X 4 C

1шт.

34

700711557

WASHER

1/2 HARDENED WIDE PLAIN WASHER

2шт.

35

231-5348

FLANGE NUT,Flg, 1/2"-13

1/2-13 HFTLN GR/G

2шт.

36

700135055

PLUNGER

WA

1шт.

37

409-7612

BOLT,3/8"-16 x 1.09" OAL

3/8-16 X 3/4 HWHMS

5шт.

38

700135033

SPROCKET ASSY.

SPROCKET WA - 60B42 sprocket

1шт.

39

861088

BUCKET TOOTH KEY

1/2 X 2 GIB KEY

1шт.

40

700135057

CLIP

1шт.

41

758730

SPRING

- extension

1шт.

42

413-1044

BOLT,Hex, 5/8" - 11 x 2-3/4", Gr 5

5/8-11 X 2-3/4 C

1шт.

43

700128184

TUBE,0.562" ID, 25.4 mm OD, 124 mm Length

1шт.

44

700135034

PIVOT

WA

1шт.

45

201106C1

SPACER

1шт.

46

541857R92

SPROCKET,15T

IDLER - sprocket, 15 tooth

1шт.

47

700135037

MOUNTING PARTS

MOUNTING

2шт.

48

413-896

BOLT,Hex, 1/2" - 13 x 6", Gr 5

1/2-13 X 6 C

1шт.

Выбрано товаров: 48