Качественные детали и логистика
Оригинальные и аналоговые запчасти с доставкой по России, Казахстану и Беларуси
©2022 PartSell ООО "Система" ИНН 2463123282 ОГРН 1212400004838
Центральный офис: г. Красноярск, Академика Киренского, д.87, пом.4
Телефон: 8 (800) 777-65-74 Email: zakaz@partsell.ru
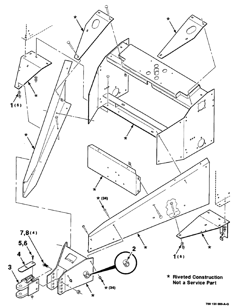
(7-04) - HITCH AND TONGUE ASSEMBLIES, SERIAL NUMBER CFH0124001 THROUGH CFH0124137
№
Артикул
Название
Примечание
Количество
1
496-81010
WASHER
3/8 HARDENED WIDE PLAIN WASHER
12шт.
2
6227391
TUBE,2" OD, 1.88" Length
- jack
1шт.
3
700132297
TRAILER HITCH
HITCH WA
4
700132315
PLATE
5
121-237
SERRATED BOLT,Hex, 3/8" - 16 x 1 1/4, Spcl
3/8-16 X 1-1/4 HFS GR8
6
232-5316
FLANGE NUT,Flg, 3/8"-16
3/8-16 HFTLN GR/G
7
413-1228
BOLT,Hex, 3/4" - 10 x 1-3/4", Gr 5
3/4-10 x 1-3/4 C
4шт.
8
230-41112
LOCK NUT,3/4"-10, GA
3/4-10 HTLN GR/B
Выбрано товаров: 0