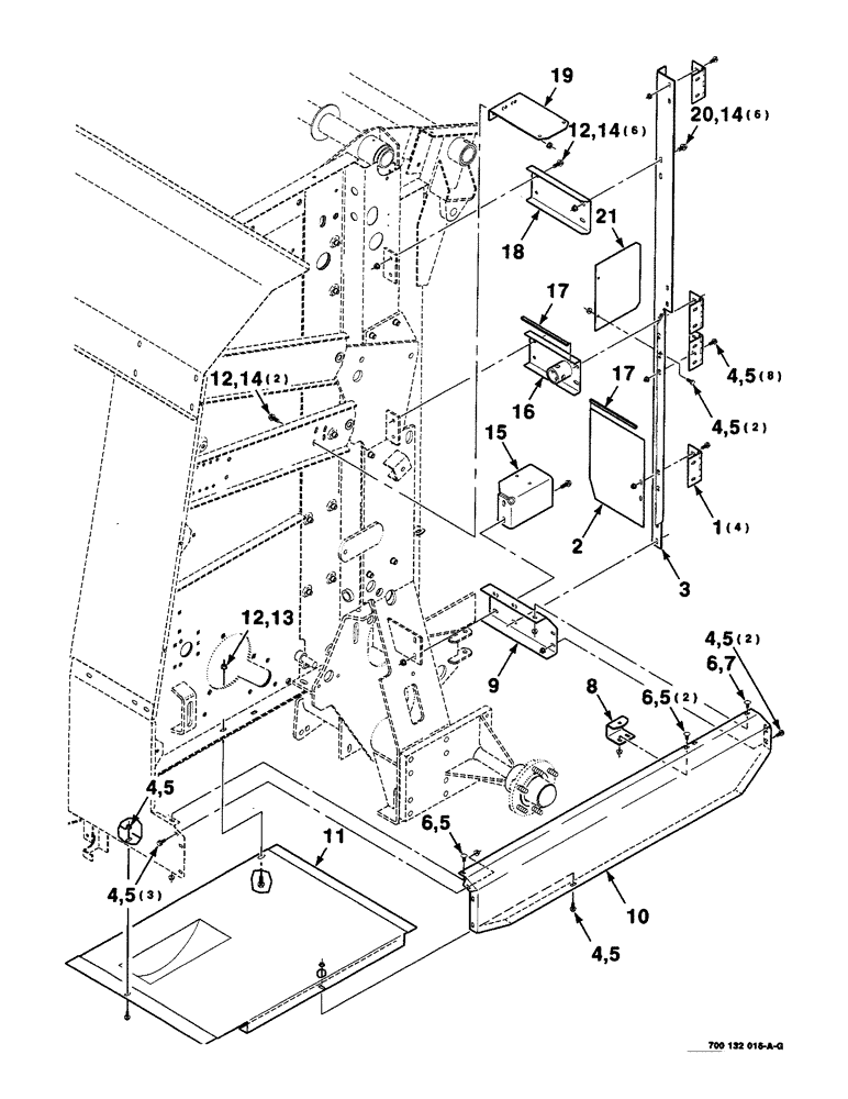
Запчасти Case IH 8435 (7-22) - SHIELD SUPPORT AND HINGE ASSEMBLIES, LEFT (12) - MAIN FRAME

Схема запчастей Case IH 8435 - (7-22) - SHIELD SUPPORT AND HINGE ASSEMBLIES, LEFT (12) - MAIN FRAME
5
8
6
6
7
5
20
4
3
4
5
9
15
12
2
18
14
12
5
11
13
19
17
5
5
4
12
6
5
5
14
4
16
4
4
17
1
1
21
14
FIT
1:1
100%

Артикул

Название

Примечание

Количество

1

700707701

HINGE

- butt

4шт.

2

700132323

SHIELD

- rear

1шт.

3

700132494

ANGLE

- support, left

1шт.

4

121-115

SERRATED BOLT,Hex, 5/16" - 18 x 3/4"

17шт.

5

231-5145

SERRATED NUT,Flg, USR, 5/16"-18

NUT, Flg, USR, 5/16"-18

20шт.

6

433-512

CARRIAGE BOLT,Sq Nk, 5/16" - 18 x 3/4", Gr 5

4шт.

7

232-5315

FLANGE NUT,Flg, 5/16"-18

5/16-18 HFTLN GR/G

1шт.

8

700132502

ANCHOR

- lower

1шт.

9

700132496

SUPPORT

- lower, left

1шт.

10

700132492

SHIELD

- lower, left (includes decal)

1шт.

11

700151470

SHIELD

WA

1шт.

12

121-226

SERRATED BOLT,Hex, 3/8" - 16 x 1"

9шт.

13

231-5146

FLANGE NUT,3/8"-16

1шт.

14

232-5316

FLANGE NUT,Flg, 3/8"-16

3/8-16 HFTLN GR/G

14шт.

15

700132505

SUPPORT

- valve, mount

1шт.

16

700132521

SUPPORT

WA - center

1шт.

17

1117746

ORNAMENTAL STRIP

TRIM - edge

2шт.

18

700132500

SUPPORT

- upper

1шт.

19

700132501

ANCHOR

- upper

1шт.

20

409-7612

BOLT,3/8"-16 x 1.09" OAL

3/8-16 X 3/4 HWHMS

6шт.

21

700133808

PLATE

ASSEMBLY (includes decal)

1шт.

Выбрано товаров: 21