Запчасти Case IH 8435 (7-24) - SHIELD SUPPORT AND HINGE ASSEMBLIES, RIGHT (12) - MAIN FRAME

Схема запчастей Case IH 8435 - (7-24) - SHIELD SUPPORT AND HINGE ASSEMBLIES, RIGHT (12) - MAIN FRAME
3
12
2
9
9
4
2
6
10
3
11
7
8
5
FIT
1:1
100%

Артикул

Название

Примечание

Количество

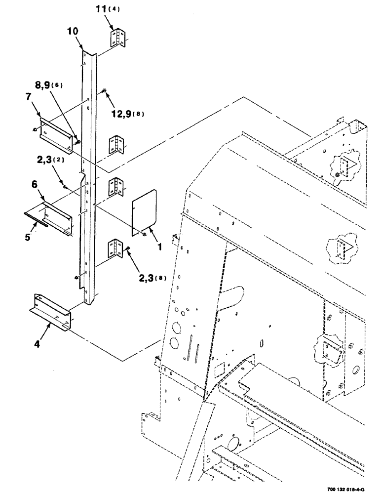
1

700133808

PLATE

ASSEMBLY (includes decal)

1шт.

2

121-115

SERRATED BOLT,Hex, 5/16" - 18 x 3/4"

10шт.

3

231-5145

SERRATED NUT,Flg, USR, 5/16"-18

NUT, Flg, USR, 5/16"-18

10шт.

4

700132497

SUPPORT

- lower, right

1шт.

5

1117746

ORNAMENTAL STRIP

TRIM - edge

1шт.

6

700132499

SUPPORT

- center

1шт.

7

700132500

SUPPORT

- upper

1шт.

8

121-226

SERRATED BOLT,Hex, 3/8" - 16 x 1"

6шт.

9

232-5316

FLANGE NUT,Flg, 3/8"-16

3/8-16 HFTLN GR/G

14шт.

10

700132495

ANGLE

- support, right

1шт.

11

700707701

HINGE

- butt

4шт.

12

409-7612

BOLT,3/8"-16 x 1.09" OAL

3/8-16 X 3/4 HWHMS

8шт.

Выбрано товаров: 12