Запчасти Case IH 8450 (028) - PICKUP AND CAM ASSEMBLY Pickup

Схема запчастей Case IH 8450 - (028) - PICKUP AND CAM ASSEMBLY Pickup
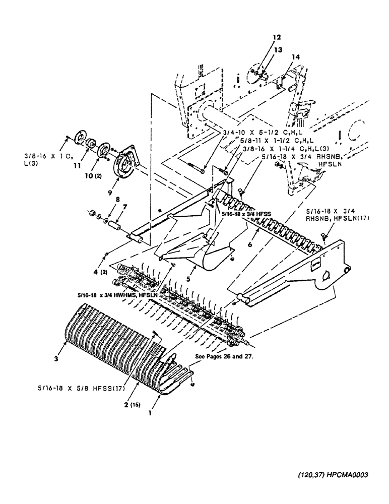
10
9
1
12
6
3
7
14
11
13
5
8
2
4
FIT
1:1
100%

Артикул

Название

Примечание

Количество

1

700122837

TOOTH

Wrapper - Tine, Left

1шт.

2

700114144

GUARD

Wrapper - Tine, Center

15шт.

3

700122840

TOOTH

Wrapper - Tine, Right

1шт.

4

219-8

LUBE NIPPLE,1/4" - 28 NPTF

NIPPLE, LUBE, 1/4"-28 NPT x .54" lg

2шт.

5

700114134

DEFLECTOR

- Right

1шт.

6

700114118

FRAME

- Pickup

1шт.

7

700114172

TUBE,38.1 mm OD, 102 mm Length

- Pivot, Pickup

1шт.

8

700709607

WASHER,3/4"

3/4 Wide Plain Washer

1шт.

9

700116125

HOUSING

Camtrack

1шт.

10

51417

PIPE

- Bearing

2шт.

11

700709621

SPHERICAL BEARING,31.78mm Hex x 72mm OD x 25mm W

- Spherical, Hex Bore

1шт.

12

700709606

WASHER,5/8"

5/8 Wide Plain Washer

1шт.

13

378521

SPACER

Bushing

1шт.

14

700114170

STRAP

- Link, Pickup

1шт.

703249

BOLT,Hex, 3/8" - 16 x 1", Gr 5

3/8-16 x 1 C

3шт.

702035

BOLT,Hex, 3/8" - 16 x 1 1/4", Gr 5, Full Thd

3/8-16 x 1-1/4 C

3шт.

7701758

BOLT,Hex, 5/8" - 11 x 1 1/2", Gr 5

5/8-11 x 1-1/2 C

1шт.

7883002

BOLT,Hex 3/4" - 10 x 5 1/2", Gr 5

3/4-10 x 5-1/2 C

1шт.

700013

CARRIAGE BOLT,Sq Nk, 5/16" - 18 x 3/4", Gr 5

5/16-18 x 3/4 RHSNB

18шт.

7703440

BOLT,Hex Flange, 5/16" - 18 x 5/8"

5/16-18 x 5/8 HFSS

17шт.

703132

SERRATED SCREW

5/16-18 x 3/4 HFSS

1шт.

Выбрано товаров: 21