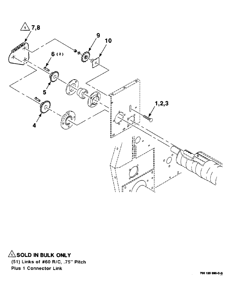
Запчасти Case IH 8455 (2-20) - ROLLER DRIVE ASSEMBLY (STARTING) Driveline

Схема запчастей Case IH 8455 - (2-20) - ROLLER DRIVE ASSEMBLY (STARTING) Driveline
5
2
9
4
3
1
10
8
7
6
FIT
1:1
100%

Артикул

Название

Примечание

Количество

1

433-1064

CARRIAGE BOLT,Sq Nk, 5/8" - 11 x 4", Gr 5

5/8-11 x 4 RHSNB

1шт.

2

492-11062

BEARING WASHER,5/8"

WASHER, LOCK, 5/8"

1шт.

3

425-1010

NUT,5/8"-11, G5

1шт.

4

6867667

SPROCKET ASSY.

SPROCKET WA - 60B23 tooth

1шт.

5

6621155

SPROCKET ASSY.

SPROCKET WA - 60B19 tooth

1шт.

6

Q3947

KEY,Gib, 3/8" Sq x 1 1/2"

3/8 x 1-1/2 KEY - gib

2шт.

7

7086002

CHAIN (AG)

CHAIN - roller, #60 (10 Foot bulk)

1шт.

8

241-1316

LINK,19.05mm Pitch

LINK - connector, #60 (W/Spring clip)

1шт.

9

541857R92

SPROCKET,15T

- idler, 15 tooth

1шт.

10

700116040

SUPPORT

- sprocket

1шт.

Выбрано товаров: 0