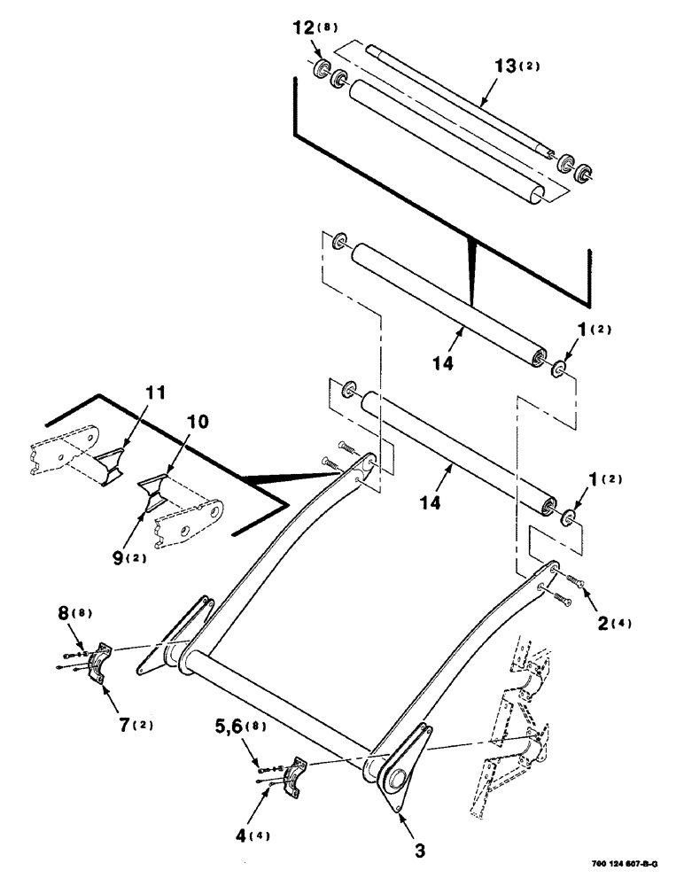
Запчасти Case IH 8455T (6-22) - BALE TENSION ROLLER ASSEMBLY, SERIAL NUMBER CFH0080406 AND LATER (14) - BALE CHAMBER

Схема запчастей Case IH 8455T - (6-22) - BALE TENSION ROLLER ASSEMBLY, SERIAL NUMBER CFH0080406 AND LATER (14) - BALE CHAMBER
10
9
13
12
11
1
3
1
7
5
4
14
8
14
2
6
FIT
1:1
100%

Артикул

Название

Примечание

Количество

1

700118652

WASHER

- special

4шт.

2

700707981

SCREW,FLAT, 3/4" - 10 x 1-3/4"

3/4-10 X 1-3/4 HSFCHCS, special

4шт.

3

700118996

ARM

WA (Includes items 9, 10 & 11)

1шт.

4

219-90

LUBE NIPPLE,45 Degree Elbow, 1/4" -28 NPTF

1/4-28 X 45 DEGREE ZERK

4шт.

5

61-34424

HEX SOC SCREW,7/16"-14 x 1 1/2"

7/16-14 X 1-1/2 HSHCS, special

8шт.

6

492-11044

LOCK WASHER,7/16"

WASHER, LOCK, 7/16"

8шт.

7

700107957

CLAMP

WA

2шт.

8

6520233

BUSHING

8шт.

9

700122464

LARGE PLATE

PLATE - wear, lower

2шт.

10

700119972

LARGE PLATE

PLATE - wear, left, upper

1шт.

11

700119973

LARGE PLATE

PLATE - wear, right, upper

1шт.

12

8050825

BEARING, ROLLER, CYL,38.1 mm ID x 80 mm OD x 30.163 mm

- cylindrical

8шт.

13

700118709

SHAFT

2шт.

14

700118707

ROLL

ER ASM (Includes items 12 & 13)

2шт.

Выбрано товаров: 14