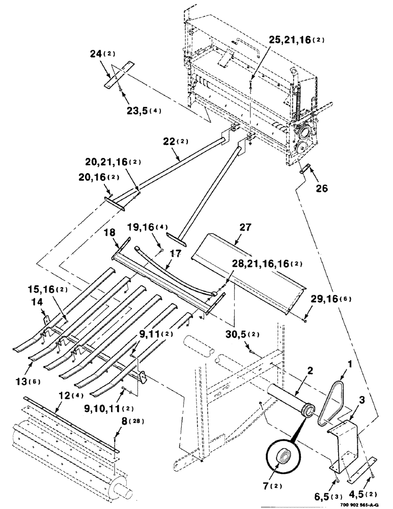
Запчасти Case IH 8455T (9-48) - MESH WRAP SHIELDS AND SLIDE ASSEMBLIES, SERIAL NUMBER CFH0084501 THROUGH CFH0084545 Decals & Attachments

Схема запчастей Case IH 8455T - (9-48) - MESH WRAP SHIELDS AND SLIDE ASSEMBLIES, SERIAL NUMBER CFH0084501 THROUGH CFH0084545 Decals & Attachments
12
9
20
5
5
25
21
21
16
7
20
2
5
30
10
29
16
28
8
3
6
22
9
14
5
16
16
11
13
19
4
16
24
1
18
11
16
27
21
23
16
26
15
17
16
FIT
1:1
100%

Артикул

Название

Примечание

Количество

1

700710922

V-BELT,1140.46 mm L

1шт.

2

700125902

ROLLER ASSY.

ROLLER ASSEMBLY (Includes item 7)

1шт.

3

700125782

SUPPORT

WA

1шт.

4

433-620

CARRIAGE BOLT,Sq Nk, 3/8" - 16 x 1 1/4", Gr 5

BOLT, CARRIAGE, Short NK, 3/8"-16 x 1 1/4", G5

2шт.

5

231-5146

FLANGE NUT,3/8"-16

11шт.

6

121-237

SERRATED BOLT,Hex, 3/8" - 16 x 1 1/4, Spcl

3/8-16 X 1-1/4 HFS GR8

3шт.

7

8050825

BEARING, ROLLER, CYL,38.1 mm ID x 80 mm OD x 30.163 mm

2шт.

8

164-40

HEX SOC SCREW,Flat Hd, 5/16" - 18 x 3/4"

5/16-18 X 3/4 HSFCHCS

28шт.

9

413-620

BOLT,Hex, 3/8" - 16 x 1-1/4", Gr 5

C Hex, 3/8"-16 x 1 1/4", G5, Full Thd

4шт.

10

496-11041

WASHER,13/32" x 13/16" x .065", HDN

3/8 HARDENED PLAIN WASHER

2шт.

11

232-5316

FLANGE NUT,Flg, 3/8"-16

3/8-16 HFTLN GR/G

4шт.

12

700125908

STRAP

4шт.

13

700125786

SLIDE

WA

6шт.

14

700125897

SUPPORT

WA

1шт.

15

413-532

BOLT,Hex, 5/16" - 18 x 2", Gr 5

2шт.

16

231-5145

SERRATED NUT,Flg, USR, 5/16"-18

NUT, Flg, USR, 5/16"-18

22шт.

17

700710880

SPRING

- leaf

1шт.

18

700125895

SUPPORT

WA

1шт.

19

121-115

SERRATED BOLT,Hex, 5/16" - 18 x 3/4"

4шт.

20

413-536

BOLT,Hex, 5/16" - 18 x 2-1/4", Gr 5

Hex, 5/16-18 X 2-1/4 C

4шт.

21

496-21034

WASHER,11/32" x 11/16" x 0.89", HDN

6шт.

22

700125793

SUPPORT

WA

2шт.

23

434-616

CARRIAGE BOLT,Sht Sq Nk, 3/8" - 16 x 1", Gr 5

3/8-16 X 1 RHSNB

4шт.

24

700125905

PLATE

2шт.

25

413-540

BOLT,Hex, 5/16" - 18 x 2-1/2", Gr 5

2шт.

26

700125907

PLATE

1шт.

27

700125894

SHIELD

1шт.

28

703769

SCREW

5/16-18 X 2 3/4 C

2шт.

29

433-512

CARRIAGE BOLT,Sq Nk, 5/16" - 18 x 3/4", Gr 5

6шт.

30

433-612

CARRIAGE BOLT,Sq Nk, 3/8" - 16 x 3/4", Gr 5

2шт.

Выбрано товаров: 30