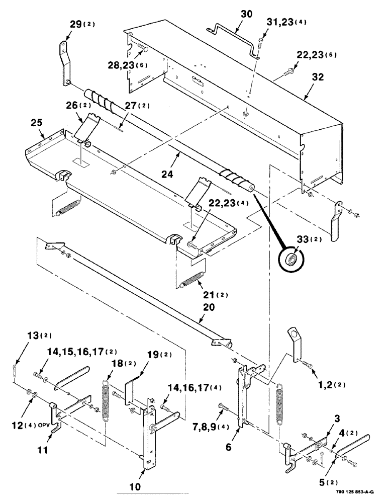
Запчасти Case IH 8455T (9-52) - MESH WRAP BOX ASSEMBLY, SERIAL NUMBER CFH0084501 THROUGH CFH0084545 Decals & Attachments

Схема запчастей Case IH 8455T - (9-52) - MESH WRAP BOX ASSEMBLY, SERIAL NUMBER CFH0084501 THROUGH CFH0084545 Decals & Attachments
32
10
23
16
7
25
17
20
21
16
4
11
13
29
22
26
23
8
33
14
3
22
27
23
2
18
17
23
9
15
28
30
19
31
14
1
24
12
5
6
FIT
1:1
100%

Артикул

Название

Примечание

Количество

1

413-620

BOLT,Hex, 3/8" - 16 x 1-1/4", Gr 5

C Hex, 3/8"-16 x 1 1/4", G5, Full Thd

2шт.

2

231-4116

NUT,3/8"-16, GB

3/8-16 HTLN GR/B

2шт.

3

700125770

LATCH

WA - left

1шт.

4

276022

SPACER

2шт.

5

700125777

HANDLE

2шт.

6

700125741

SUPPORT

WA - left

1шт.

7

434-616

CARRIAGE BOLT,Sht Sq Nk, 3/8" - 16 x 1", Gr 5

3/8-16 X 1 RHSNB

4шт.

8

492-11038

LOCK WASHER,3/8"

4шт.

9

425-106

NUT,3/8"-16, Cl 5

4шт.

10

700125748

SUPPORT

WA - right

1шт.

11

700125776

LATCH

WA - right

1шт.

12

52233

BUSHING

5/8 X 14 GAUGE NRMB

4шт.

13

432-820

COTTER PIN,1/8" x 1 1/4"

PIN, SPLIT (COTTER), 1/8" x 1-1/4"

2шт.

14

413-516

BOLT,Hex, 5/16" - 18 x 1", Gr 5

C Hex, 5/16"-18 x 1", G5, Full Thd

6шт.

15

496-21034

WASHER,11/32" x 11/16" x 0.89", HDN

2шт.

16

492-11031

LOCK WASHER,5/16"

WASHER, LOCK, 5/16"

6шт.

17

425-105

NUT,5/16"-18, G5

6шт.

18

700710130

SPRING

- extension

2шт.

19

700125846

HANGER

2шт.

20

700125873

PIPE

WA

1шт.

21

700709637

SPRING

- extension

2шт.

22

256873

BOLT,Hex Serr, 5/16" - 18 x 1/2", 5SPL, Full Thd

10шт.

23

231-5145

SERRATED NUT,Flg, USR, 5/16"-18

NUT, Flg, USR, 5/16"-18

20шт.

24

700125869

ROLLER ASSY.

ROLLER ASM (Includes item 33)

1шт.

25

700125875

PANEL

WA

1шт.

26

700125730

DEFLECTOR

WA

2шт.

27

700128299

PIN

- hinge

2шт.

28

433-512

CARRIAGE BOLT,Sq Nk, 5/16" - 18 x 3/4", Gr 5

6шт.

29

700125761

SUPPORT

WA

2шт.

30

700710878

HANDLE

1шт.

31

413-512

BOLT,Hex, 5/16" - 18 x 3/4", Gr 5

C Hex, 5/16"-18 x 3/4", G5, Full Thd

4шт.

32

700125878

LID

WA

1шт.

33

700710877

BEARING, ROLLER, CYL,15 mm ID x 35 mm OD x 11 mm

BEARING

2шт.

Выбрано товаров: 33