Запчасти Case IH 8455T (9-70) - MESH WRAP SLOWDOWN KIT Decals & Attachments

Схема запчастей Case IH 8455T - (9-70) - MESH WRAP SLOWDOWN KIT Decals & Attachments
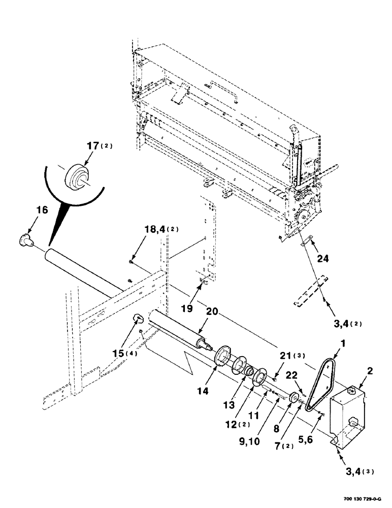
19
11
9
2
8
4
1
24
21
15
7
4
14
20
5
16
3
12
10
3
17
6
13
22
4
18
FIT
1:1
100%

Артикул

Название

Примечание

Количество

1

700714215

V-BELT,1066.80 mm L

1шт.

2

700130721

SHIELD

1шт.

3

121-226

SERRATED BOLT,Hex, 3/8" - 16 x 1"

5шт.

4

231-5146

FLANGE NUT,3/8"-16

7шт.

5

413-612

BOLT,Hex, 3/8" - 16 x 3/4", Gr 5

1шт.

6

492-11038

LOCK WASHER,3/8"

1шт.

7

700710049

WASHER

3/8 FENDER WASHER

2шт.

8

700714214

SHEAVE

1шт.

9

413-864

BOLT,Hex, 1/2" - 13 x 4", Gr 5

1/2-13 X 4 C

1шт.

10

80679

LOCK WASHER,1/20.507 CST ZND

WASHER, LOCK, 1/2"

1шт.

11

6598684

BUSHING

SPACER

1шт.

12

50575

FLANGE

2шт.

13

50468

SPHERICAL BEARING,38.1 mm ID x 80 mm OD x 22, 43.66 mm

- spherical

1шт.

14

700130720

ADAPTER

SPACER

1шт.

15

409-7512

BOLT,Hex Flg, 5/16" - 18 x 3/4", Spcl

Hex Flg, 5/16-18 x 3/4", Serr

4шт.

16

700100927

HUB

1шт.

17

8050825

BEARING, ROLLER, CYL,38.1 mm ID x 80 mm OD x 30.163 mm

- cylindrical

2шт.

18

409-7612

BOLT,3/8"-16 x 1.09" OAL

3/8-16 X 3/4 HWHMS

2шт.

19

700130846

HINGE

1шт.

20

700130715

ROLLER

- Wa (Includes items 16 and 17)

1шт.

21

409-7812

BOLT,Hex Flg, 1/2" - 13 x 3/4", Spcl

1/2-13 X 3/4 HFSS

3шт.

22

T13450

KEY

1/4 X 1-1/4 KEY

1шт.

24

700130722

SHIM

1шт.

Выбрано товаров: 23