Качественные детали и логистика
Оригинальные и аналоговые запчасти с доставкой по России, Казахстану и Беларуси
©2022 PartSell ООО "Система" ИНН 2463123282 ОГРН 1212400004838
Центральный офис: г. Красноярск, Академика Киренского, д.87, пом.4
Телефон: 8 (800) 777-65-74 Email: zakaz@partsell.ru
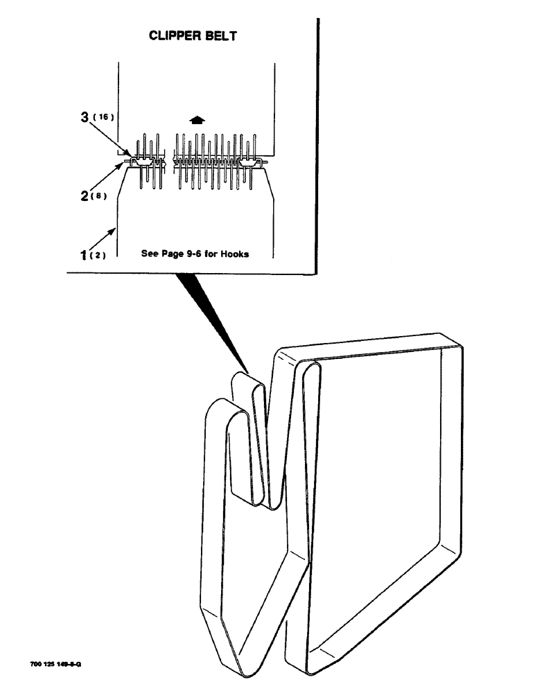
(6-34) - FORMING BELTS AND LACING
№
Артикул
Название
Примечание
Количество
1
700711049
BELT
- narrow (6-1/2 Inch wide)
2шт.
700709999
BELT,177.00 mm W x 14287.5 mm L
177.00 mm W x 14287.5 mm
6шт.
2
700707160
PIN,1.65mm OD x 195mm L
- lacing solid wire
8шт.
700710206
PIN,1.73mm OD x 180mm L
- lacing, cable
3
700707322
LATCH ASSY.
FASTENER
16шт.
Выбрано товаров: 0