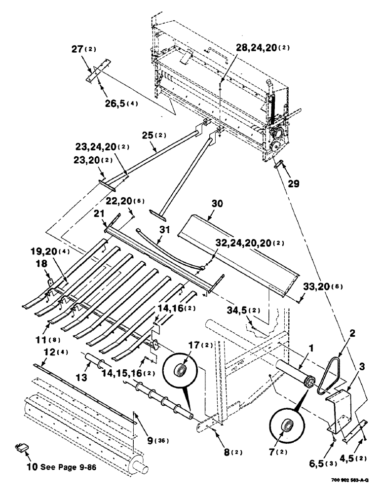
Запчасти Case IH 8460 (9-48) - MESH WRAP KIT, SHIELDS AND SLIDE ASSEMBLIES, SERIAL NUMBER CFH0073001 THROUGH CFH0073202 Decals & Attachments

Схема запчастей Case IH 8460 - (9-48) - MESH WRAP KIT, SHIELDS AND SLIDE ASSEMBLIES, SERIAL NUMBER CFH0073001 THROUGH CFH0073202 Decals & Attachments
30
20
10
32
20
19
16
17
13
5
1
27
23
31
29
20
8
24
20
11
20
14
6
15
23
5
5
34
4
9
25
2
28
26
22
14
33
5
18
7
24
21
20
24
3
16
20
12
20
FIT
1:1
100%

Артикул

Название

Примечание

Количество

1

700125851

ROLLER

ASSEMBLY (Includes item 7)

1шт.

2

700710922

V-BELT,1140.46 mm L

1шт.

3

700125782

SUPPORT

WA

1шт.

4

433-620

CARRIAGE BOLT,Sq Nk, 3/8" - 16 x 1 1/4", Gr 5

BOLT, CARRIAGE, Short NK, 3/8"-16 x 1 1/4", G5

2шт.

5

231-5146

FLANGE NUT,3/8"-16

11шт.

6

121-237

SERRATED BOLT,Hex, 3/8" - 16 x 1 1/4, Spcl

3/8-16 X 1-1/4 HFS GR8

3шт.

7

8050825

BEARING, ROLLER, CYL,38.1 mm ID x 80 mm OD x 30.163 mm

- cylindrical

2шт.

8

61-43820

HEX SOC SCREW,FLAT, 3/8" x 1-1/4"

3/8-16 X 1-1/4 HSFCHCS

2шт.

9

700714564

SCREW

5/16-18 X 1 CRFCHTCTS

36шт.

10

700711967

VALVE

ASSEMBLY - control

1шт.

11

700125786

SLIDE

WA

8шт.

12

700122995

STRAP

4шт.

13

700125801

ROLLER

ASSEMBLY (Includes item 17)

1шт.

14

413-620

BOLT,Hex, 3/8" - 16 x 1-1/4", Gr 5

C Hex, 3/8"-16 x 1 1/4", G5, Full Thd

4шт.

15

496-11041

WASHER,13/32" x 13/16" x .065", HDN

3/8 HARDENED PLAIN WASHER

2шт.

16

232-5316

FLANGE NUT,Flg, 3/8"-16

3/8-16 HFTLN GR/G

4шт.

17

586156R92

BEARING, ROLLER, CYL,0.7505" ID x 47 mm OD x 0.8437, 0.53125"

BEARING - cylindrical

2шт.

18

700125790

SUPPORT

WA

1шт.

19

413-532

BOLT,Hex, 5/16" - 18 x 2", Gr 5

4шт.

20

231-5145

SERRATED NUT,Flg, USR, 5/16"-18

NUT, Flg, USR, 5/16"-18

26шт.

21

700125805

SUPPORT

WA

1шт.

22

121-115

SERRATED BOLT,Hex, 5/16" - 18 x 3/4"

6шт.

23

413-536

BOLT,Hex, 5/16" - 18 x 2-1/4", Gr 5

Hex, 5/16-18 X 2-1/4 C

4шт.

24

496-21034

WASHER,11/32" x 11/16" x 0.89", HDN

6шт.

25

700125793

SUPPORT

WA

2шт.

26

434-616

CARRIAGE BOLT,Sht Sq Nk, 3/8" - 16 x 1", Gr 5

3/8-16 X 1 RHSNB

4шт.

27

700125905

PLATE

2шт.

28

413-540

BOLT,Hex, 5/16" - 18 x 2-1/2", Gr 5

2шт.

29

700125907

PLATE

1шт.

30

700125804

SHIELD

1шт.

31

700710880

SPRING

- leaf

1шт.

32

703769

SCREW

5/16-18 X 2-3/4 C

2шт.

33

433-512

CARRIAGE BOLT,Sq Nk, 5/16" - 18 x 3/4", Gr 5

6шт.

34

433-612

CARRIAGE BOLT,Sq Nk, 3/8" - 16 x 3/4", Gr 5

2шт.

Выбрано товаров: 34