Запчасти Case IH 8460 (4-12) - CONTROL BOX ASSEMBLY, ELECTRICAL, 700710915 CONTROL BOX COMPLETE (06) - ELECTRICAL

Схема запчастей Case IH 8460 - (4-12) - CONTROL BOX ASSEMBLY, ELECTRICAL, 700710915 CONTROL BOX COMPLETE (06) - ELECTRICAL
9
22
1
26
10
6
23
8
15
19
11
12
3
7
27
30
4
13
28
5
3
24
20
18
29
14
2
17
21
16
25
FIT
1:1
100%

Артикул

Название

Примечание

Количество

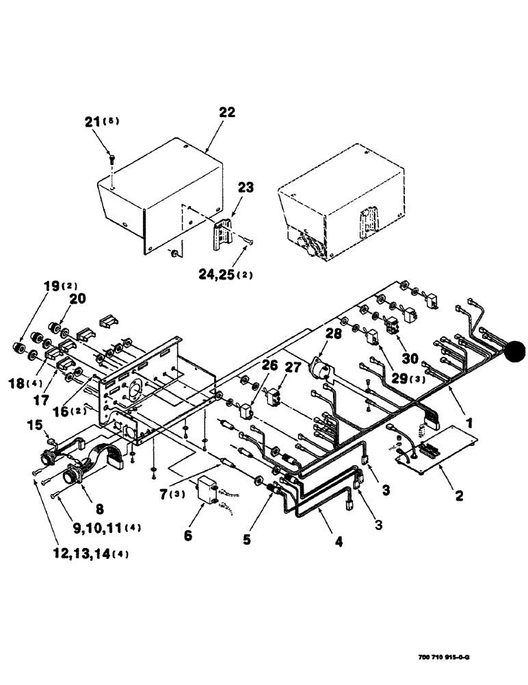
700710915

CONTROL

BOX COMPLETE

1шт.

1

700708675

HARNESS

1шт.

2

700709892

BOARD

- PC

1шт.

3

700708674

HARNESS

1шт.

4

700710938

HARNESS

1шт.

5

700708673

HARNESS

- power

1шт.

6

700707393

SWITCH

- breaker

1шт.

7

8021198

LAMP

3шт.

8

700708671

HARNESS

ASSEMBLY (S.N. CFH0016501 thru CFH0016838)

1шт.

700712403

HARNESS

ASSEMBLY (S.N. CFH0016839 and later)

1шт.

9

440-1066

SCREW,Cross Pan Hd, #6-32 x 3/8"

#6-32 X 3/8 CRPHMS

4шт.

10

492-11006

LOCK WASHER,#6

Washer, Lock, #6

4шт.

11

225-14106

NUT,#6-32

4шт.

12

182-5

SCREW,Sl Pan Hd, #4 - 40 x 3/8"

4шт.

13

492-11004

LOCK WASHER,#4

Washer, Lock, #4

4шт.

14

225-14104

NUT,#4-40

4шт.

15

700708672

HARNESS

- power (S.N. CFH0016501 thru CFH0016838)

1шт.

700712423

HARNESS

- power (S.N. CFH0016839 and later)

1шт.

16

700704212

SELF-TAP SCREW

#4-24 X 3/8 SPHTFTS

2шт.

17

700707458

INDICATOR

LIGHT - green

1шт.

18

700707459

INDICATOR

LIGHT - amber

4шт.

19

700708670

CAP

LENS - red

2шт.

20

700710925

CAP

LENS - green

1шт.

21

281-1478

SELF-TAP SCREW,1/4" - 20 x 1/2"

1/4-20 X 1/2 HWHTCTS

6шт.

22

700116147

COVER

1шт.

23

A59457

BRACKET

SOCKET

1шт.

24

1270468C1

SELF-TAP SCREW,Cross Pan Hd, 5/16" - 18 x 1/2"

5/16-18 X 1/2 CRPHMS

2шт.

25

231-5145

SERRATED NUT,Flg, USR, 5/16"-18

NUT, Flg, USR, 5/16"-18

2шт.

26

700707449

SWITCH

- toggle

1шт.

27

700707450

SWITCH

- toggle

1шт.

28

700703984

INDICATOR

- audio (Horn)

1шт.

29

700707452

SWITCH

- toggle

3шт.

30

700709399

SWITCH

- toggle

1шт.

Выбрано товаров: 33