Запчасти Case IH 8460 (7-10) - SHIELDS ASSEMBLY, FRONT (12) - MAIN FRAME

Схема запчастей Case IH 8460 - (7-10) - SHIELDS ASSEMBLY, FRONT (12) - MAIN FRAME
8
10
2
1
5
6
8
4
6
6
6
3
9
11
7
FIT
1:1
100%

Артикул

Название

Примечание

Количество

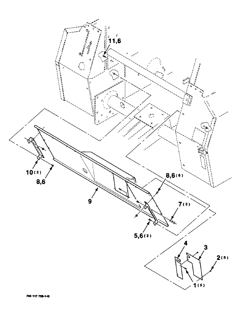
1

74740

NUT

- speed

5шт.

2

413-48

BOLT,Hex, 1/4" - 20 x 1/2", Gr 5

5шт.

3

700129372

PLATE

1шт.

4

700129373

COVER

1шт.

5

121-108

BOLT,Hex Flg, 5/16"-18 x 1 1/4", Serr

5/16-18 X 1 HWHMS

2шт.

6

231-5145

SERRATED NUT,Flg, USR, 5/16"-18

NUT, Flg, USR, 5/16"-18

10шт.

7

495-61034

WASHER,0.34" ID x 0.88" OD x 0.06" Thk

5/16 WIDE PLAIN WASHER

3шт.

8

121-115

SERRATED BOLT,Hex, 5/16" - 18 x 3/4"

7шт.

9

700129377

SHIELD

1шт.

10

700126761

SUPPORT

2шт.

11

440-13112

SCREW,Cross Pan Hd, 5/16"-18 x 3/4"

5/16-18 X 3/4 CRPHMS GR2

1шт.

Выбрано товаров: 11