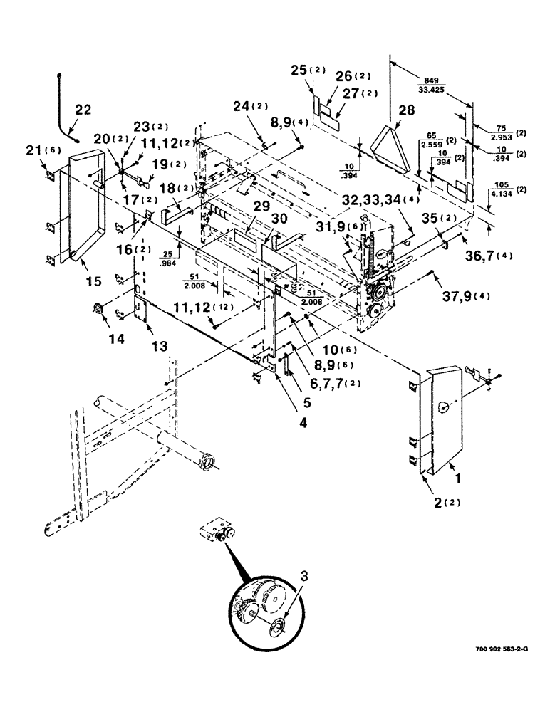
Запчасти Case IH 8460 (28) - MESH WRAP SHIELDS AND DECAL ASSEMBLIES, SERIAL NUMBER CFH0073011 AND LATER

Схема запчастей Case IH 8460 - (28) - MESH WRAP SHIELDS AND DECAL ASSEMBLIES, SERIAL NUMBER CFH0073011 AND LATER
FIT
1:1
100%

Артикул

Название

Примечание

Количество

1

700124566

SHIELD

WA-LEFT

1шт.

2

700711948

SPRING

-TORSION

2шт.

3

700711189

DECAL

-NET-TWINE

1шт.

4

700125718

SHIELD

1шт.

5

700125893

PLATE

1шт.

6

7701485

BOLT,Hex, 1/4" - 20 x 2", Gr 5

1/4-20 X 2 C

2шт.

7

523282

SERRATED NUT,Flg, USR, 1/4"-20

1/4-20 HFSLN GR/F

8шт.

8

7883374

SCREW,Hex Washer, 3/8" - 16 x 3/4"

3/8-16 X 3/4 HWHMS

10шт.

9

704247

NUT

3/8-16 HFSLN GR/F

20шт.

10

700711334

FASTENER

-PUSH ON

6шт.

11

7883325

BOLT,Hex, 5/16" - 18 x 3/4", Gr 120M

5/16-18 X 3/4 HWHMS

14шт.

12

704239

FRONT AXLE

5/16-18 HFSLN GR/F

14шт.

13

700125719

SHIELD

1шт.

14

727248

GROMMET

-RUBBER

1шт.

15

700124567

SHIELD

WA-RIGHT

1шт.

16

700124553

PLATE

HOLDDOWN

2шт.

17

432-68

COTTER PIN,3/32" x 1/2"

3/32 X 1/2 COTTER PIN

2шт.

18

700125844

SLEEVE

SUPPORT

2шт.

19

776682

HOOK

-RUBBER

2шт.

20

776674

SUPPORT

ANCHOR

2шт.

21

700124551

HINGE

-SUPPORT

6шт.

22

700711083

HARNESS

-WIRE

1шт.

23

63784

CLEVIS PIN

1/4 X 1-1/2 CLEVIS PIN

2шт.

24

7025075

BRACKET

2шт.

25

878660

REFLECTOR

-RED

2шт.

26

700711322

DECAL

-CAUTION

2шт.

27

700706191

DECAL

-WARNING, INJURY

2шт.

28

311858A1

DECAL

EMBLEM-SMV

1шт.

29

700711130

DECAL

-NOTICE

1шт.

30

700711129

DECAL

-OPERATIONAL

1шт.

31

700054

CARRIAGE BOLT,Sq Nk, 3/8" - 16 x 1 1/4", Gr 5

3/8-16 X 1-1/4 RHSNB

6шт.

32

700704837

SCREW,Cross Pan Hd, #10-24 x 3/8"

#10-24 X 3/8 CRPHMS GR2

4шт.

33

705004

LOCK WASHER

#10 L

4шт.

34

NLS

NO LONGER SERVICED

10-24 H GR2

4шт.

35

700710930

PAD

2шт.

36

700711167

SCREW

1/4-20 X 3/4 CRPHMS

4шт.

37

700047

BOLT

3/8-16 X 1 RHSNB

4шт.

Выбрано товаров: 37