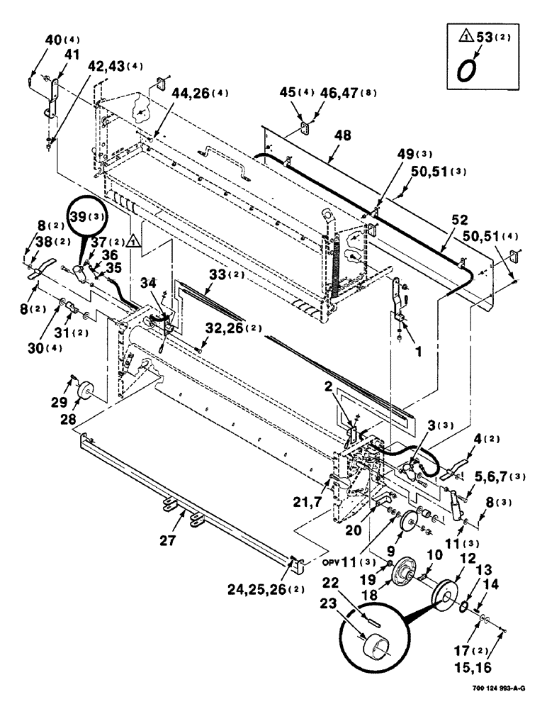
Запчасти Case IH 8465 (7-20) - MESH WRAP, BOX AND ROLLER DRIVE ASSEMBLIES, SERIAL NUMBER CFH0073272 AND LATER (12) - MAIN FRAME

Схема запчастей Case IH 8465 - (7-20) - MESH WRAP, BOX AND ROLLER DRIVE ASSEMBLIES, SERIAL NUMBER CFH0073272 AND LATER (12) - MAIN FRAME
34
19
7
21
26
9
27
25
22
32
12
2
48
23
3
30
42
7
1
10
49
13
31
36
8
50
41
35
33
38
14
18
15
46
29
39
11
11
8
51
40
8
52
37
20
53
4
47
26
5
17
26
51
28
6
43
50
24
45
44
16
FIT
1:1
100%

Артикул

Название

Примечание

Количество

1

700125752

HINGE

WA - left

1шт.

2

700125756

ADAPTER

WA - left

1шт.

3

700710874

CYLINDER

ASSEMBLY (Includes item 39)

3шт.

4

700125750

LATCH

WA

2шт.

5

413-836

BOLT,Hex, 1/2" - 13 x 2-1/4", Gr 5

3шт.

6

425-108

NUT,1/2" - 13, Gr 5

NUT, 1/2"-13, G5

3шт.

7

231-5348

FLANGE NUT,Flg, 1/2"-13

NUT, Flg, 1/2"-13

4шт.

8

432-816

COTTER PIN,1/8" x 1"

PIN, SPLIT (COTTER), 1/8" x 1"

7шт.

9

54833

FRONT IDLER

IDLER-V

1шт.

10

700127932

PAWL

1шт.

11

705541

WASHER,0.53" ID x 1.06" OD x 0.14" Thk

6шт.

12

700127931

SHEAVE

ASM. (Includes items 22 & 23)

1шт.

13

100-11175

SNAP RING,#175, Ext

Ring, Snap, #175, Ext

1шт.

14

Q10

KEY,1/4" Sq x 1 3/8"

1/4 X 1-3/8 KEY

1шт.

15

413-612

BOLT,Hex, 3/8" - 16 x 3/4", Gr 5

1шт.

16

492-11038

LOCK WASHER,3/8"

1шт.

17

700710049

WASHER

3/8 FENDER WASHER

2шт.

18

700127930

HUB

- ratchet

1шт.

19

700127933

SPACER

1шт.

20

700125855

GUIDE

- belt

1шт.

21

433-832

CARRIAGE BOLT,Sq Nk, 1/2" - 13 x 2", Gr 5

BOLT, CARRIAGE, Short NK, 1/2"-13 x 2", G5

1шт.

22

438-11620

LOCK PIN,1/4" x 1 1/4", Slotted

Pin, 1/4" x 1 1/4", Slotted

1шт.

23

700713302

BRONZE BUSHING,44.552 mm ID x 50.902 mm OD x 25.527 mm

BUSHING - bronze

1шт.

24

121-226

SERRATED BOLT,Hex, 3/8" - 16 x 1"

2шт.

25

496-81010

WASHER

3/8 HARDENED WIDE PLAIN WASHER

2шт.

26

232-5316

FLANGE NUT,Flg, 3/8"-16

NUT, Flg, 3/8"-16

8шт.

27

700125796

SUPPORT

WA

1шт.

28

700125830

DRUM

- brake

1шт.

29

Q3914

KEY,Gib, 1/4" Sq x 1 1/2"

1/4 X 1-1/2 GIB KEY

1шт.

30

396-21066

WASHER,16.66mm ID x 33.33mm OD x 4.27mm Thk

- 5/8" bolt size 21/32" x 1 5/16" x .150", HDN

4шт.

31

700710931

BUSHING

2шт.

32

413-616

BOLT,Hex, 3/8" - 16 x 1", Gr 5

2шт.

33

700125915

SPRING

- torsion

2шт.

34

700125759

ADAPTER

WA - right

1шт.

35

700715848

CAP

7/16-20 CAP

1шт.

36

700701355

3 WAY CONNECTION

7/16-20 TEE, service

1шт.

37

7792500

ELBOW

7/16-20 X 90° ELBOW (Includes item 53)

2шт.

38

496-11041

WASHER,13/32" x 13/16" x .065", HDN

3/8 HARDENED PLAIN WASHER

2шт.

39

700710941

SEAL KIT

KIT - seal

3шт.

40

700125760

WEDGE

4шт.

41

700125755

HINGE

WA - right

1шт.

42

492-11025

LOCK WASHER,1/4"

WASHER, LOCK, 1/4"

4шт.

43

425-104

NUT,1/4"-20, Cl 5

4шт.

44

434-616

CARRIAGE BOLT,Sht Sq Nk, 3/8" - 16 x 1", Gr 5

BOLT, CARRIAGE, Short NK, 3/8"-16 x 1", G5, Full Thd

4шт.

45

700710930

PAD

4шт.

46

440-12512

SCREW,Cross Pan Hd, 1/4"-20 x 3/4"

8шт.

47

231-5144

SERRATED NUT,Flg, USR, 1/4"-20

8шт.

48

700125717

SHIELD

1шт.

49

515-23254

CLAMP,1", Insul, 3/8" Bolt

Hose 1", Insul, 3/8" Bolt

3шт.

50

121-115

SERRATED BOLT,Hex, 5/16" - 18 x 3/4"

7шт.

51

232-5315

FLANGE NUT,Flg, 5/16"-18

NUT, Flg, 5/16"-18

7шт.

52

700711009

HYDRAULIC HOSE,6.35 mm ID x 1850.00 mm, SAE 100R1

6.35 mm ID x 1850.00 mm, SAE 100R1

1шт.

53

237-6004

O-RING,0.072" Thk x 0.351" ID, -904, Cl 6, 90 Duro

4-1, 90 Duro, .351" ID x .072" Thk

2шт.

Выбрано товаров: 53