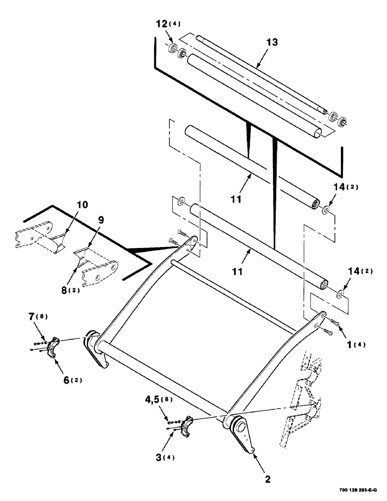
Запчасти Case IH 8465 (6-30) - BALE TENSION ROLLER ASSEMBLY, SERIAL NUMBER CFH0122123 AND LATER (14) - BALE CHAMBER

Схема запчастей Case IH 8465 - (6-30) - BALE TENSION ROLLER ASSEMBLY, SERIAL NUMBER CFH0122123 AND LATER (14) - BALE CHAMBER
5
7
6
8
11
4
9
3
12
11
2
14
10
1
13
14
FIT
1:1
100%

Артикул

Название

Примечание

Количество

1

700707981

SCREW,FLAT, 3/4" - 10 x 1-3/4"

3/4-10 X 1-3/4 HSFCHCS SPL

4шт.

2

700114356

ARM/LIFTING DEVICE

ARM WA (Includes items 8, 9 & 10)

1шт.

3

219-90

LUBE NIPPLE,45 Degree Elbow, 1/4" -28 NPTF

1/4-28 X 45° ZERK

4шт.

4

61-34424

HEX SOC SCREW,7/16"-14 x 1 1/2"

7/16-14 X 1-1/2 HSHCS SPL

8шт.

5

492-11044

LOCK WASHER,7/16"

WASHER, LOCK, 7/16"

8шт.

6

700107957

CLAMP

WA

2шт.

7

6520233

BUSHING

8шт.

8

700122464

LARGE PLATE

PLATE - wear, lower

2шт.

9

700119972

LARGE PLATE

PLATE - wear, left, upper

1шт.

10

700119973

LARGE PLATE

PLATE - wear, right, upper

1шт.

11

700124616

ROLLER

ASM (Includes items 12 & 13)

2шт.

12

8050825

BEARING, ROLLER, CYL,38.1 mm ID x 80 mm OD x 30.163 mm

- cylindrical

4шт.

13

700118648

SHAFT

1шт.

14

700118652

WASHER

- spl

4шт.

Выбрано товаров: 14