Запчасти Case IH 8465 (9-96) - SVC KIT, SLOW DOWN MESH WRAP, 700130728 SVC KIT, SLOW DOWN MESH WRAP COMPLETE, Decals & Attachments

Схема запчастей Case IH 8465 - (9-96) - SVC KIT, SLOW DOWN MESH WRAP, 700130728 SVC KIT, SLOW DOWN MESH WRAP COMPLETE, Decals & Attachments
14
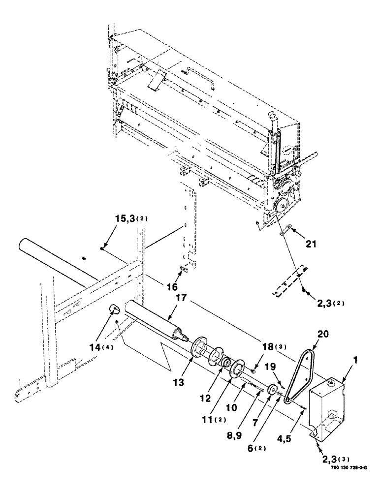
6
11
18
21
3
4
7
10
9
2
3
17
2
5
19
8
3
12
20
13
15
16
1
FIT
1:1
100%

Артикул

Название

Примечание

Количество

700130728

KIT

SVC - kit mesh wrap slow down complete

1шт.

1

700130721

SHIELD

1шт.

2

121-226

SERRATED BOLT,Hex, 3/8" - 16 x 1"

5шт.

3

231-5146

FLANGE NUT,3/8"-16

7шт.

4

413-612

BOLT,Hex, 3/8" - 16 x 3/4", Gr 5

1шт.

5

492-11038

LOCK WASHER,3/8"

1шт.

6

700710049

WASHER

3/8 FENDER WASHER

2шт.

7

700714214

SHEAVE

1шт.

8

413-864

BOLT,Hex, 1/2" - 13 x 4", Gr 5

1/2-13 X 4 C

1шт.

9

80679

LOCK WASHER,1/20.507 CST ZND

WASHER, LOCK, 1/2"

1шт.

10

6598684

BUSHING

SPACER

1шт.

11

50575

FLANGE

2шт.

12

50468

SPHERICAL BEARING,38.1 mm ID x 80 mm OD x 22, 43.66 mm

- spherical

1шт.

13

700130720

ADAPTER

SPACER

1шт.

14

409-7512

BOLT,Hex Flg, 5/16" - 18 x 3/4", Spcl

Hex Flg, 5/16-18 x 3/4", Serr

4шт.

15

409-7612

BOLT,3/8"-16 x 1.09" OAL

3/8-16 X 3/4 HWHMS

2шт.

16

700130846

HINGE

1шт.

17

700130723

ROLLER

- wa

1шт.

18

409-7812

BOLT,Hex Flg, 1/2" - 13 x 3/4", Spcl

1/2-13 X 3/4 HFSS

3шт.

19

T13450

KEY

1/4 X 1-1/4 KEY

1шт.

20

700714215

V-BELT,1066.80 mm L

1шт.

21

700130722

SHIM

1шт.

Выбрано товаров: 22