Запчасти Case IH 8465T (6-22) - BALE TENSION ROLLER ASSEMBLY, SERIAL NUMBER CFH0074856 THROUGH CFH0074875 (14) - BALE CHAMBER

Схема запчастей Case IH 8465T - (6-22) - BALE TENSION ROLLER ASSEMBLY, SERIAL NUMBER CFH0074856 THROUGH CFH0074875 (14) - BALE CHAMBER
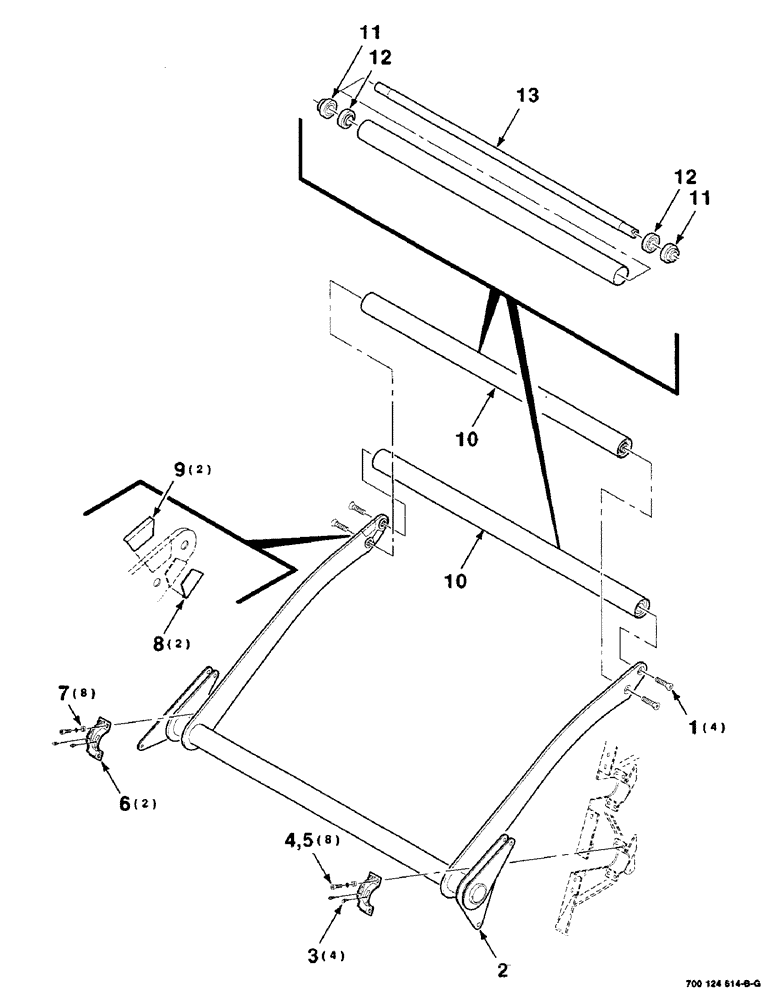
10
6
12
11
5
7
8
12
3
11
10
1
4
9
13
2
FIT
1:1
100%

Артикул

Название

Примечание

Количество

1

700707981

SCREW,FLAT, 3/4" - 10 x 1-3/4"

3/4-10 X 1-3/4 HSFCHCS SPECIAL

4шт.

2

700130866

ARM

WA (includes items 8 and 9)

1шт.

3

219-90

LUBE NIPPLE,45 Degree Elbow, 1/4" -28 NPTF

1/4-28 X 45 DEGREE ZERK

4шт.

4

61-34424

HEX SOC SCREW,7/16"-14 x 1 1/2"

7/16-14 X 1-1/2 HSHCS SPECIAL

8шт.

5

492-11044

LOCK WASHER,7/16"

WASHER, LOCK, 7/16"

8шт.

6

700107957

CLAMP

WA

2шт.

7

6520233

BUSHING

8шт.

8

700130868

PLATE

- wear, lower

2шт.

9

700130867

PLATE

- wear, upper

2шт.

10

700130862

ROLLER

ASM (includes items 11, 12 & 13)

2шт.

11

F82059

BEARING ASSY,38.1mm ID x 80mm OD x 22mm W

BEARING

2шт.

12

8050825

BEARING, ROLLER, CYL,38.1 mm ID x 80 mm OD x 30.163 mm

- cylindrical

2шт.

13

700130863

SHAFT

1шт.

Выбрано товаров: 13