Запчасти Case IH 8465T (6-24) - BALE TENSION ROLLER ASSEMBLY, SERIAL NUMBER CFH0074876 AND LATER (14) - BALE CHAMBER

Схема запчастей Case IH 8465T - (6-24) - BALE TENSION ROLLER ASSEMBLY, SERIAL NUMBER CFH0074876 AND LATER (14) - BALE CHAMBER
11
13
7
13
2
17
8
13
12
1
3
6
5
14
10
9
15
15
4
16
FIT
1:1
100%

Артикул

Название

Примечание

Количество

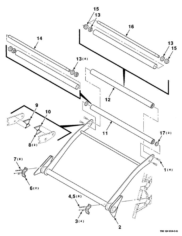
1

700707981

SCREW,FLAT, 3/4" - 10 x 1-3/4"

3/4-10 X 1-3/4 HSFCHCS SPECIAL

4шт.

2

700121547

ARM

WA (includes items 8, 9 and 10)

1шт.

3

219-90

LUBE NIPPLE,45 Degree Elbow, 1/4" -28 NPTF

1/4-28 X 45 DEGREE ZERK

4шт.

4

61-34424

HEX SOC SCREW,7/16"-14 x 1 1/2"

7/16-14 X 1-1/2 HSHCS SPECIAL

8шт.

5

492-11044

LOCK WASHER,7/16"

WASHER, LOCK, 7/16"

8шт.

6

700107957

CLAMP

WA

2шт.

7

6520233

BUSHING

8шт.

8

700122464

LARGE PLATE

PLATE - wear, lower

2шт.

9

700119973

LARGE PLATE

PLATE - wear, right, upper

1шт.

10

700119972

LARGE PLATE

PLATE - wear, upper, left

1шт.

11

700124616

ROLLER

ASM (includes items 13 & 14)

1шт.

12

700130862

ROLLER

ASM (includes items 13, 15 & 16)

1шт.

13

8050825

BEARING, ROLLER, CYL,38.1 mm ID x 80 mm OD x 30.163 mm

- cylindrical

6шт.

14

700118648

SHAFT

1шт.

15

F82059

BEARING ASSY,38.1mm ID x 80mm OD x 22mm W

BEARING

2шт.

16

700130863

SHAFT

1шт.

17

700118652

WASHER

- special

2шт.

Выбрано товаров: 17