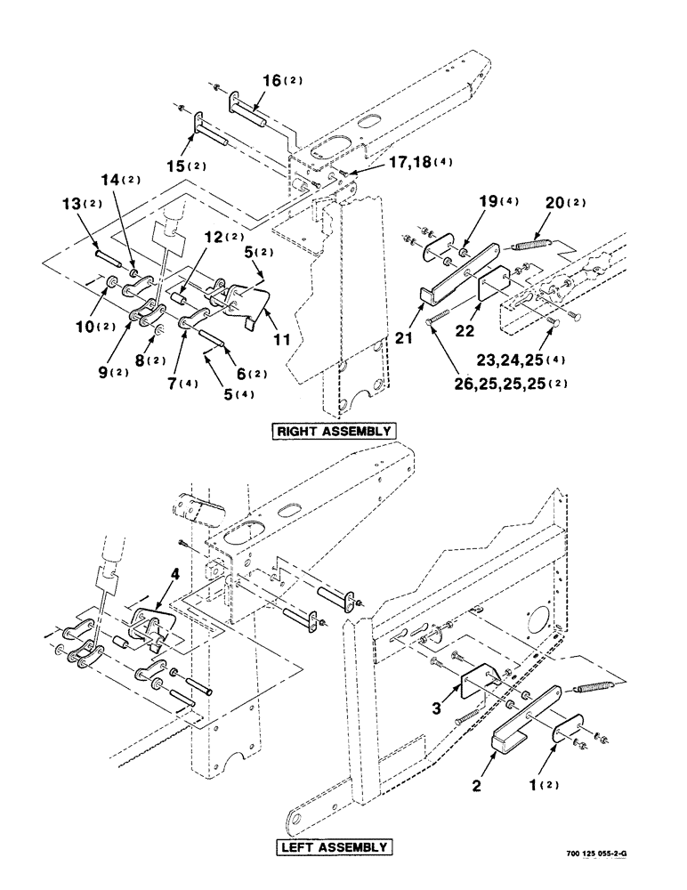
Запчасти Case IH 8465T (5-02) - TAILGATE LATCH ASSEMBLY (16) - BALE EJECTOR

Схема запчастей Case IH 8465T - (5-02) - TAILGATE LATCH ASSEMBLY (16) - BALE EJECTOR
24
17
2
25
12
26
16
25
20
11
22
5
1
18
15
3
9
13
25
6
4
14
23
8
19
5
21
7
25
10
FIT
1:1
100%

Артикул

Название

Примечание

Количество

1

700115942

PLATE

2шт.

2

700119111

LATCH

WA - left

1шт.

3

700119092

SUPPORT

- left

1шт.

4

700119106

LATCH

WA - left

1шт.

5

432-1020

COTTER PIN,5/32" x 1 1/4"

PIN, SPLIT (COTTER), 5/32" x 1 1/4"

6шт.

6

700115939

PIN

2шт.

7

700115941

LINK

4шт.

8

195-2117

WASHER,13/16" x 1 1/2" x .134", HDN

3/4 X 10 GAUGE WRMB

2шт.

9

700115920

LINK

WA

2шт.

10

700109079

SPACER

2шт.

11

700119108

LATCH

WA - right

1шт.

12

488122

SPACER

TUBE - spacer

2шт.

13

763870

CLEVIS PIN

5/8 X 4 CLEVIS PIN

2шт.

14

51200241

SPACER

2шт.

15

700115929

PIN

WA

2шт.

16

700115918

PIN

WA

2шт.

17

413-616

BOLT,Hex, 3/8" - 16 x 1", Gr 5

4шт.

18

231-5146

FLANGE NUT,3/8"-16

4шт.

19

6287155

SPACER

4шт.

20

758441

SPRING

- extension

2шт.

21

700119112

LATCH

WA - right

1шт.

22

700119093

SUPPORT

- right

1шт.

23

433-824

CARRIAGE BOLT,Sq Nk, 1/2" - 13 x 1 1/2", Gr 5

1/2-13 X 1-1/2 RHSNB

4шт.

24

80679

LOCK WASHER,1/20.507 CST ZND

WASHER, LOCK, 1/2"

4шт.

25

425-108

NUT,1/2" - 13, Gr 5

NUT, 1/2"-13, G5

10шт.

26

873422

CAPSCREW,Hex, 1/2" - 13 x 3 1/2", Gr 5, Full Thd

1/2-13 X 3-1/2 FTC

2шт.

Выбрано товаров: 26