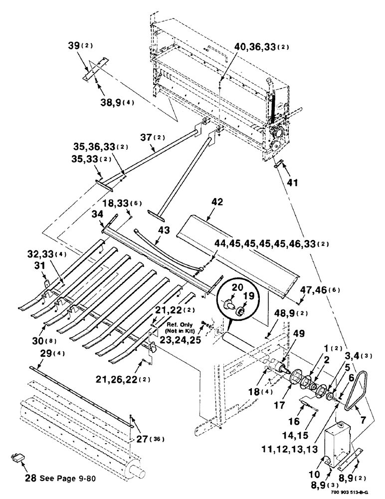
Запчасти Case IH 8465T (9-50) - MESH WRAP KIT, SHIELDS AND SLIDE ASSEMBLIES, SERIAL NUMBER CFH0073272 AND LATER Decals & Attachments

Схема запчастей Case IH 8465T - (9-50) - MESH WRAP KIT, SHIELDS AND SLIDE ASSEMBLIES, SERIAL NUMBER CFH0073272 AND LATER Decals & Attachments
46
6
33
13
43
9
28
45
29
14
35
34
20
17
33
35
49
32
4
8
21
10
7
47
39
12
3
24
41
13
9
23
18
44
27
26
22
40
37
42
46
25
33
33
31
36
5
38
1
16
30
8
36
9
2
45
9
45
19
11
15
22
33
33
21
18
45
48
FIT
1:1
100%

Артикул

Название

Примечание

Количество

1

50575

FLANGE

2шт.

2

50468

SPHERICAL BEARING,38.1 mm ID x 80 mm OD x 22, 43.66 mm

- spherical

1шт.

3

360-816

BOLT,Hex, 1/2" - 13 x 1", Gr 8

1/2-13 X 1 HFS GR8

3шт.

4

705541

WASHER,0.53" ID x 1.06" OD x 0.14" Thk

1/2 HARDENED PLAIN WASHER

3шт.

5

700714214

SHEAVE

- steel

1шт.

6

T13450

KEY

1/4 X 1-1/4 KEY

1шт.

7

700714215

V-BELT,1066.80 mm L

1шт.

8

121-226

SERRATED BOLT,Hex, 3/8" - 16 x 1"

5шт.

9

231-5146

FLANGE NUT,3/8"-16

11шт.

10

700130721

SHIELD

1шт.

11

413-612

BOLT,Hex, 3/8" - 16 x 3/4", Gr 5

1шт.

12

492-11038

LOCK WASHER,3/8"

1шт.

13

700710049

WASHER

3/8 FENDER WASHER

2шт.

14

413-864

BOLT,Hex, 1/2" - 13 x 4", Gr 5

1/2-13 X 4 C

1шт.

15

80679

LOCK WASHER,1/20.507 CST ZND

WASHER, LOCK, 1/2"

1шт.

16

6598684

BUSHING

SPACER

1шт.

17

700130720

ADAPTER

SPACER

1шт.

18

121-115

SERRATED BOLT,Hex, 5/16" - 18 x 3/4"

10шт.

19

8050825

BEARING, ROLLER, CYL,38.1 mm ID x 80 mm OD x 30.163 mm

- cylindrical

1шт.

20

700100927

HUB

1шт.

21

121-237

SERRATED BOLT,Hex, 3/8" - 16 x 1 1/4, Spcl

3/8-16 X 1-1/4 HFS GR8

2шт.

22

232-5316

FLANGE NUT,Flg, 3/8"-16

3/8-16 HFTLN GR/G

2шт.

23

413-1228

BOLT,Hex, 3/4" - 10 x 1-3/4", Gr 5

3/4-10 x 1-3/4 C

1шт.

24

492-11075

LOCK WASHER,3/4"

3/4"

1шт.

25

705566

WASHER

3/4 HARDENED PLAIN WASHER

1шт.

26

496-11041

WASHER,13/32" x 13/16" x .065", HDN

3/8 HARDENED PLAIN WASHER

2шт.

27

164-40

HEX SOC SCREW,Flat Hd, 5/16" - 18 x 3/4"

5/16-18 X 3/4 HSFCHCS SPL.

36шт.

28

700711967

VALVE

ASSEMBLY - control

1шт.

29

700122995

STRAP

4шт.

30

700125786

SLIDE

WA

8шт.

31

700125790

SUPPORT

WA

1шт.

32

413-532

BOLT,Hex, 5/16" - 18 x 2", Gr 5

4шт.

33

232-5315

FLANGE NUT,Flg, 5/16"-18

5/16-18 HFTLN GR/G

18шт.

34

700136016

SUPPORT

WA

1шт.

35

413-536

BOLT,Hex, 5/16" - 18 x 2-1/4", Gr 5

Hex, 5/16-18 X 2-1/4 C

4шт.

36

496-21034

WASHER,11/32" x 11/16" x 0.89", HDN

4шт.

37

700125793

SUPPORT

WA

2шт.

38

434-616

CARRIAGE BOLT,Sht Sq Nk, 3/8" - 16 x 1", Gr 5

3/8-16 X 1 RHSNB

4шт.

39

700125905

PLATE

2шт.

40

413-540

BOLT,Hex, 5/16" - 18 x 2-1/2", Gr 5

2шт.

41

700130722

SHIM

1шт.

42

700136020

SHIELD

1шт.

43

700710880

SPRING

- leaf

1шт.

44

413-548

BOLT,Hex, 5/16" - 18 x 3", Gr 5

2шт.

45

495-61034

WASHER,0.34" ID x 0.88" OD x 0.06" Thk

5/16 WIDE PLAIN WASHER

8шт.

46

231-5145

SERRATED NUT,Flg, USR, 5/16"-18

NUT, Flg, USR, 5/16"-18

8шт.

47

433-512

CARRIAGE BOLT,Sq Nk, 5/16" - 18 x 3/4", Gr 5

6шт.

48

409-7612

BOLT,3/8"-16 x 1.09" OAL

3/8-16 X 3/4 HWHMS

2шт.

49

700130723

ROLLER

ASM. (includes items 19 and 20)

1шт.

Выбрано товаров: 49