Запчасти Case IH 8480 (9-02) - DECALS AND LOCATION DIAGRAM, FRONT, SERIAL NUMBER CFH0051001 THROUGH CFH0114150 Decals & Attachments

Схема запчастей Case IH 8480 - (9-02) - DECALS AND LOCATION DIAGRAM, FRONT, SERIAL NUMBER CFH0051001 THROUGH CFH0114150 Decals & Attachments
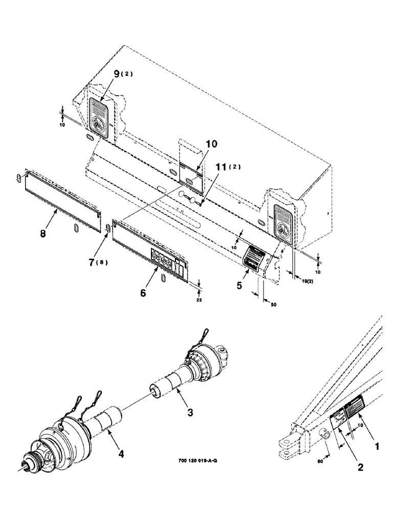
10
9
8
5
1
11
4
3
6
2
7
FIT
1:1
100%

Артикул

Название

Примечание

Количество

1

700714229

DECAL

- warning

1шт.

2

878157

DECAL

- notice

1шт.

3

700708583

DECAL

- danger, shield missing

1шт.

4

80672C1

DECAL

- danger pto

1шт.

5

700709165

DECAL

- notice, fire

1шт.

6

700710013

DECAL

- Case IH, stripe

1шт.

7

700709867

DECAL

- slot, camloc

8шт.

8

700710015

DECAL

- stripe, right

1шт.

9

8888398

DECAL

- danger

2шт.

10

700710014

DECAL

- stripe, center

1шт.

11

7889306

DECAL

- grease gun

2шт.

Выбрано товаров: 11