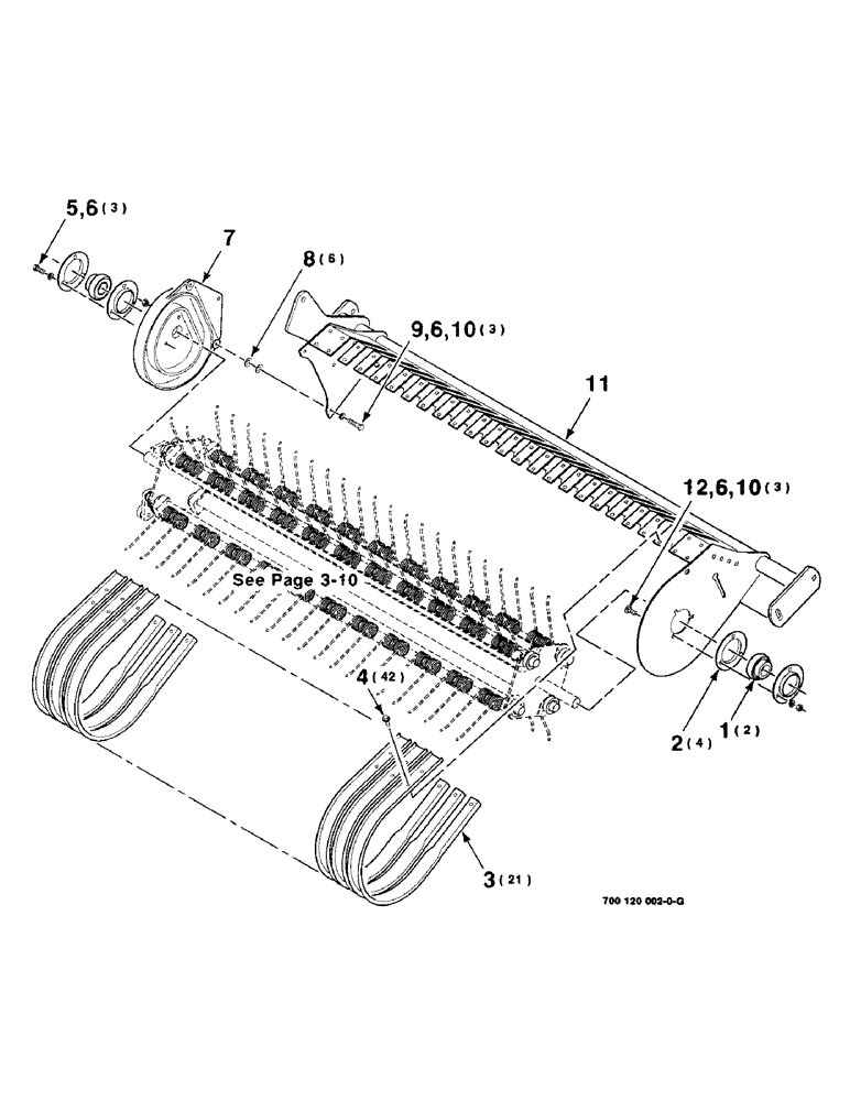
Запчасти Case IH 8480 (3-04) - PICKUP ASSEMBLY Pickup

Схема запчастей Case IH 8480 - (3-04) - PICKUP ASSEMBLY Pickup
6
3
12
6
9
11
7
10
1
4
2
10
8
5
6
FIT
1:1
100%

Артикул

Название

Примечание

Количество

1

565672R92

SPHERICAL BEARING,1.2505" ID x 72 mm OD x 1"

BEARING - spherical

2шт.

2

T27207

FLANGED BEARING

FLANGE - bearing

4шт.

3

700122908

TINE

WRAPPER - tine

21шт.

4

409-7512

BOLT,Hex Flg, 5/16" - 18 x 3/4", Spcl

Hex Flg, 5/16-18 x 3/4", Serr

42шт.

5

413-616

BOLT,Hex, 3/8" - 16 x 1", Gr 5

3шт.

6

492-11038

LOCK WASHER,3/8"

9шт.

7

700122954

CAM

TRACK

1шт.

8

95-81100

WASHER,33/64" x 7/8" x .049"

1/2 X 18 GAUGE NRMB

6шт.

9

413-624

BOLT,Hex, 3/8" - 16 x 1-1/2", Gr 5

3шт.

10

425-106

NUT,3/8"-16, Cl 5

6шт.

11

700120920

FRAME

WA

1шт.

12

434-616

CARRIAGE BOLT,Sht Sq Nk, 3/8" - 16 x 1", Gr 5

3/8-16 X 1 RHSNB

3шт.

Выбрано товаров: 12