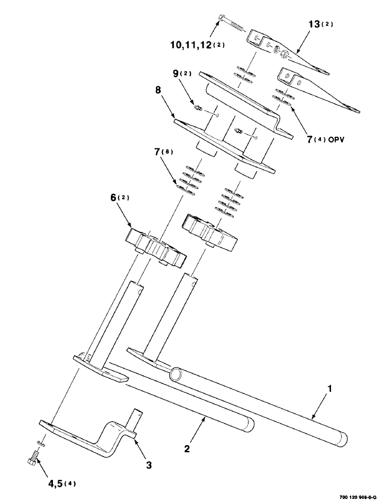
Запчасти Case IH 8480 (7-24) - TWINE ARM ASSEMBLY (12) - MAIN FRAME

Схема запчастей Case IH 8480 - (7-24) - TWINE ARM ASSEMBLY (12) - MAIN FRAME
7
8
1
13
10
5
9
2
12
4
7
3
11
6
FIT
1:1
100%

Артикул

Название

Примечание

Количество

1

700120283

SUPPORT

TWINE ARM - left

1шт.

2

700120284

SUPPORT

TWINE ARM - right

1шт.

3

700120276

SUPPORT

1шт.

4

413-620

BOLT,Hex, 3/8" - 16 x 1-1/4", Gr 5

C Hex, 3/8"-16 x 1 1/4", G5, Full Thd

4шт.

5

492-11038

LOCK WASHER,3/8"

4шт.

6

700120871

GEAR

2шт.

7

495-81197

WASHER,1 3/16" x 1 3/4" x .065"

1-1/8 X 14 GAUGE NRMB

12шт.

8

700120290

SUPPORT

- twine arm

1шт.

9

219-8

LUBE NIPPLE,1/4" - 28 NPTF

NIPPLE, LUBE, 1/4"-28 NPT x .54" lg

2шт.

10

413-528

BOLT,Hex, 5/16" - 18 x 1-3/4", Gr 5

2шт.

11

492-11031

LOCK WASHER,5/16"

WASHER, LOCK, 5/16"

2шт.

12

425-105

NUT,5/16"-18, G5

2шт.

13

700120280

CHANNEL

2шт.

Выбрано товаров: 13