Запчасти Case IH 8610 (5-10) - SECONDARY CUTTER ASSEMBLY (64) - CHOPPING

Схема запчастей Case IH 8610 - (5-10) - SECONDARY CUTTER ASSEMBLY (64) - CHOPPING
4
22
12
17
19
5
12
10
5
2
9
26
1
8
5
20
4
5
6
18
5
16
12
13
24
15
11
14
4
23
5
25
7
21
12
3
5
8
5
5
FIT
1:1
100%

Артикул

Название

Примечание

Количество

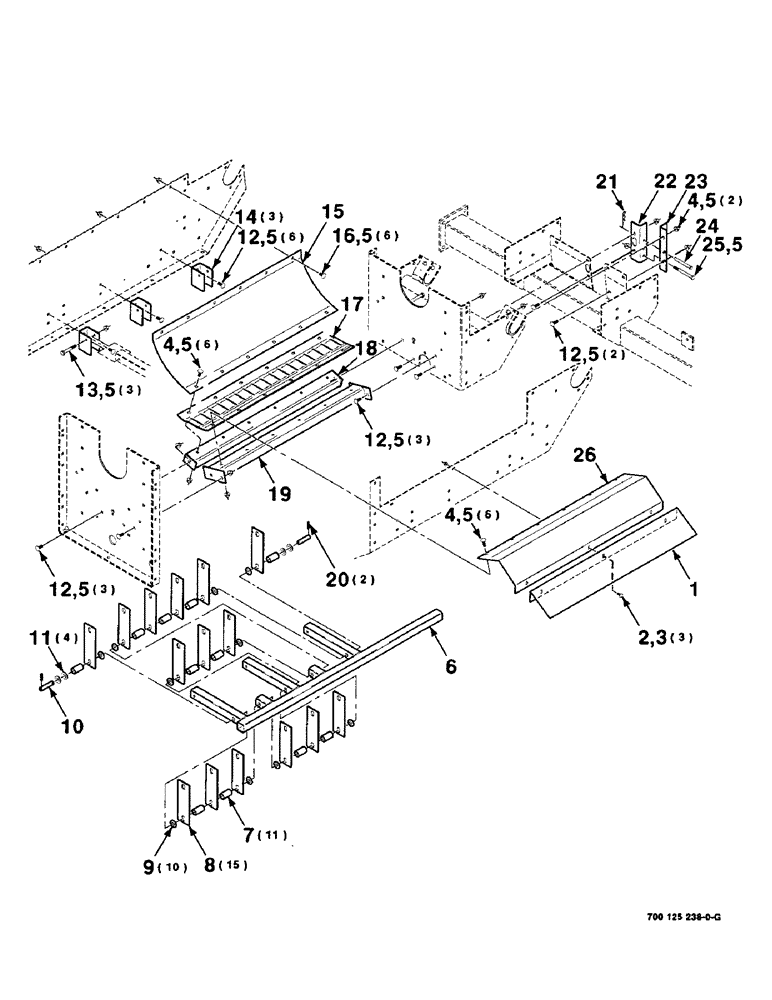
1

700117369

SHIELD

- hydraulic cylinder

1шт.

2

434-616

CARRIAGE BOLT,Sht Sq Nk, 3/8" - 16 x 1", Gr 5

3/8-16 X 1 RHSNB

3шт.

3

232-5316

FLANGE NUT,Flg, 3/8"-16

3/8-16 HFTLN GR/G

3шт.

4

433-824

CARRIAGE BOLT,Sq Nk, 1/2" - 13 x 1 1/2", Gr 5

1/2-13 X 1-1/2 RHSNB

14шт.

5

231-5348

FLANGE NUT,Flg, 1/2"-13

1/2-13 HFTLN GR/G

38шт.

6

700117391

TUBE,245.3, 184 mm Length

WA - pivot

1шт.

7

700129356

SPACER

11шт.

8

700117406

LARGE PLATE

HAMMER

15шт.

9

52928

WASHER

3/4 X 14 GA. WRMB

10шт.

10

700117405

PIN

1шт.

11

705566

WASHER

3/4 HARDENED PLAIN WASHER

4шт.

12

433-820

CARRIAGE BOLT,Sq Nk, 1/2" - 13 x 1 1/4", Gr 5

1/2-13 X 1-1/4 RHSNB

14шт.

13

413-852

BOLT,Hex, 1/2" - 13 x 3-1/4", Gr 5

1/2-13 X 3-1/4 C

3шт.

14

700117404

SUPPORT

3шт.

15

700117402

PAN

- right

1шт.

16

433-816

CARRIAGE BOLT,Sq Nk, 1/2" - 13 x 1", Gr 5

1/2-13 X 1 RHSNB

6шт.

17

700117403

SUPPORT

- hammer

1шт.

18

700117398

SUPPORT

WA - right

1шт.

19

700117395

SUPPORT

WA - left

1шт.

20

38-11624

LOCK PIN,1/4" x 1 1/2", Slotted

PIN, 1/4" x 1 1/2", Slotted

2шт.

21

S120261

PIN

.148 WIRE HAIRPIN COTTER

1шт.

22

700117407

ANGLE

- right

1шт.

23

700117409

ANGLE

- left

1шт.

24

22897R1

HEADED PIN,1/2" x 4 1/2"

1/2 X 4-1/2 CLEVIS PIN

1шт.

25

413-880

BOLT,Hex, 1/2" - 13 x 5", Gr 5

1/2-13 X 5 C

1шт.

26

700117401

PAN

- left

1шт.

Выбрано товаров: 26