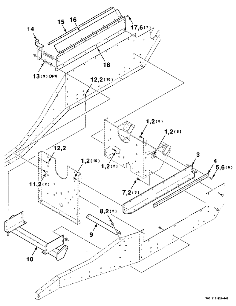
Запчасти Case IH 8610 (7-04) - MAINFRAME ROTOR HOUSING ASSEMBLY, SERIAL NUMBER CFH0096412 AND LATER (64) - CHOPPING

Схема запчастей Case IH 8610 - (7-04) - MAINFRAME ROTOR HOUSING ASSEMBLY, SERIAL NUMBER CFH0096412 AND LATER (64) - CHOPPING
6
11
7
2
3
15
1
2
1
2
5
14
12
2
16
12
1
2
13
6
1
10
2
2
8
2
4
9
2
17
18
FIT
1:1
100%

Артикул

Название

Примечание

Количество

1

433-820

CARRIAGE BOLT,Sq Nk, 1/2" - 13 x 1 1/4", Gr 5

1/2-13 X 1-1/4 RHSNB

28шт.

2

231-5348

FLANGE NUT,Flg, 1/2"-13

1/2-13 HFTLN GR/G

46шт.

3

700117365

ANGLE

- left

1шт.

4

700117611

FILLER

- rotor, left

1шт.

5

434-616

CARRIAGE BOLT,Sht Sq Nk, 3/8" - 16 x 1", Gr 5

3/8-16 X 1 RHSNB

6шт.

6

232-5316

FLANGE NUT,Flg, 3/8"-16

3/8-16 HFTLN GR/G

13шт.

7

433-824

CARRIAGE BOLT,Sq Nk, 1/2" - 13 x 1 1/2", Gr 5

1/2-13 X 1-1/2 RHSNB

3шт.

8

360-816

BOLT,Hex, 1/2" - 13 x 1", Gr 8

1/2-13 X 1 HFS GR8

2шт.

9

700117367

ANGLE

- reinforcement

1шт.

10

700108851

WASHER

ANCHOR WA - cylinder

1шт.

11

433-832

CARRIAGE BOLT,Sq Nk, 1/2" - 13 x 2", Gr 5

1/2-13 X 2 RHSNB

2шт.

12

433-816

CARRIAGE BOLT,Sq Nk, 1/2" - 13 x 1", Gr 5

1/2-13 X 1 RHSNB

11шт.

13

700711557

WASHER

1/2 HARDENED WIDE PLAIN WASHER

9шт.

14

700117343

SUPPORT

- right

1шт.

15

700117506

STRAP

- support

1шт.

16

700117375

FILLER

- rotor, right

1шт.

17

433-612

CARRIAGE BOLT,Sq Nk, 3/8" - 16 x 3/4", Gr 5

7шт.

18

700117364

SUPPORT

- pan, right

1шт.

Выбрано товаров: 18