Запчасти Case IH 8610 (7-08) - GRID ASSEMBLY (64) - CHOPPING

Схема запчастей Case IH 8610 - (7-08) - GRID ASSEMBLY (64) - CHOPPING
5
6
5
4
6
6
5
1
9
6
7
2
8
5
8
3
FIT
1:1
100%

Артикул

Название

Примечание

Количество

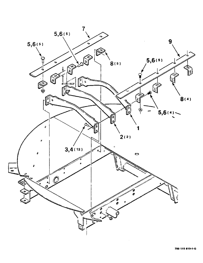
1

700117324

SUPPORT

GRID - high

1шт.

2

700117323

SUPPORT

GRID - lower

2шт.

3

433-820

CARRIAGE BOLT,Sq Nk, 1/2" - 13 x 1 1/4", Gr 5

1/2-13 X 1-1/4 RHSNB

12шт.

4

231-5348

FLANGE NUT,Flg, 1/2"-13

1/2-13 HFTLN GR/G

12шт.

5

433-1024

CARRIAGE BOLT,Sq Nk, 5/8" - 11 x 1 1/2", Gr 5

5/8-11 X 1-1/2 RHSNB

19шт.

6

232-53110

FLANGE NUT,Flg, 5/8"-11

5/8-11 HFTLN GR/G

19шт.

7

700117327

LARGE PLATE

PLATE - grid

1шт.

8

700117326

MOUNTING PARTS

ANGLE - mounting

9шт.

9

700124957

BAR

- reinforcement

1шт.

Выбрано товаров: 9