Запчасти Case IH 8610 (9-22) - CONVEYOR EXTENSION KIT, CONTINUED (88) - ACCESSORIES

Схема запчастей Case IH 8610 - (9-22) - CONVEYOR EXTENSION KIT, CONTINUED (88) - ACCESSORIES
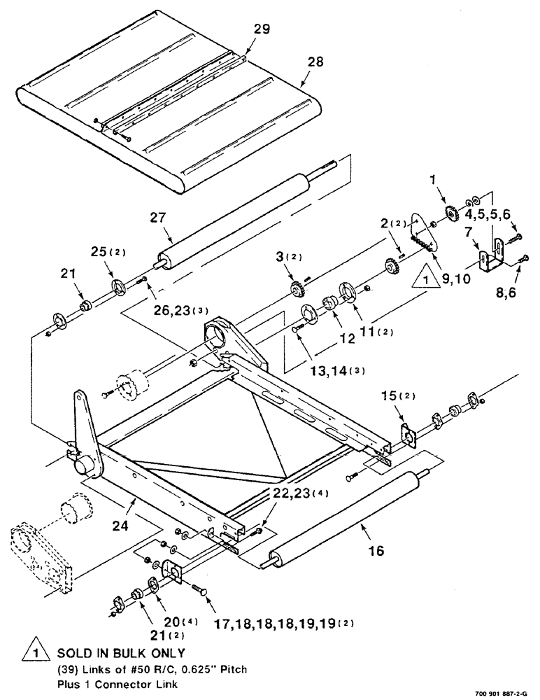
9
27
13
20
23
12
19
4
21
3
22
5
18
1
18
6
10
29
19
16
7
6
25
24
8
2
21
14
5
15
28
23
26
18
11
17
FIT
1:1
100%

Артикул

Название

Примечание

Количество

1

7087398

DRIVE SPROCKET

SPROCKET - idler, 50P, 17 tooth

1шт.

2

61424

KEY

1/4 X 1/4 X 1-1/4 GIB KEY

2шт.

3

86132

SPROCKET ASSY.

SPROCKET - 50P, 17 tooth

2шт.

4

433-832

CARRIAGE BOLT,Sq Nk, 1/2" - 13 x 2", Gr 5

1/2-13 X 2 RHSNB

1шт.

5

705541

WASHER,0.53" ID x 1.06" OD x 0.14" Thk

1/2 HARDENED PLAIN WASHER

2шт.

6

231-5348

FLANGE NUT,Flg, 1/2"-13

1/2-13 HFTLN GR/G

2шт.

7

700117529

SUPPORT

- idler

1шт.

8

433-816

CARRIAGE BOLT,Sq Nk, 1/2" - 13 x 1", Gr 5

1/2-13 x 1 RHSNB

1шт.

9

1791D

CHAIN (AG),#50, 192 Links x 15.88mm = 3048mm

CHAIN - roller, #50 (10 foot bulk)

1шт.

10

47530

LINK, CONNECTING

LINK - connector, 50 R/C

1шт.

11

H747188

FLANGED BEARING,112.73 mm OD x 8.74 mm

FLANGE - bearing

2шт.

12

2419CHA

SPHERICAL BEARING,31.75mm ID x 62mm OD x 18mm W

BEARING - spherical

1шт.

13

433-612

CARRIAGE BOLT,Sq Nk, 3/8" - 16 x 3/4", Gr 5

3шт.

14

232-5316

FLANGE NUT,Flg, 3/8"-16

3/8-16 HFTLN GR/G

3шт.

15

700117494

SUPPORT

- tightener

2шт.

16

700117434

ROLLER

- idler

1шт.

17

113-225

BOLT,Hex, 3/8" - 16 x 5", Gr 5, Full Thd

2шт.

18

496-11041

WASHER,13/32" x 13/16" x .065", HDN

3/8 HARDENED PLAIN WASHER

6шт.

19

425-106

NUT,3/8"-16, Cl 5

4шт.

20

50591

FLANGE,52mm

- bearing

4шт.

21

50302

SPHERICAL BEARING,25.4 mm ID x 52 mm OD x 30.96 mm

- spherical

3шт.

22

121-108

BOLT,Hex Flg, 5/16"-18 x 1 1/4", Serr

5/16-18 X 1 HWHMS

4шт.

23

232-5315

FLANGE NUT,Flg, 5/16"-18

5/16-18 HFTLN GR/G

7шт.

24

700117412

FRAME

- conveyor, extension

1шт.

25

50567

RATCHET

- bearing

2шт.

26

433-512

CARRIAGE BOLT,Sq Nk, 5/16" - 18 x 3/4", Gr 5

3шт.

27

700117427

ROLLER

- driven

1шт.

28

700707954

MAT

DRAPER - rubber

1шт.

29

1700145

COUPLING

COUPLER - draper

1шт.

Выбрано товаров: 29