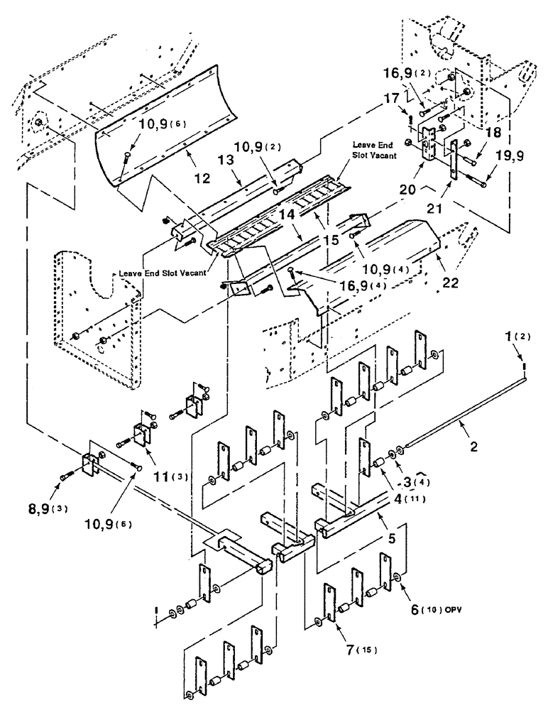
Запчасти Case IH 8610 (9-24) - SECONDARY CUTTER KIT, HK50510 SECONDARY CUTTER KIT COMPLETE, TO BE ORDERED THRU WHOLEGOODS ONLY (88) - ACCESSORIES

Схема запчастей Case IH 8610 - (9-24) - SECONDARY CUTTER KIT, HK50510 SECONDARY CUTTER KIT COMPLETE, TO BE ORDERED THRU WHOLEGOODS ONLY (88) - ACCESSORIES
18
6
14
2
8
9
19
4
9
7
3
9
10
9
17
16
22
10
15
9
16
10
10
9
5
11
21
1
9
12
13
20
9
FIT
1:1
100%

Артикул

Название

Примечание

Количество

HK50510

SECONDARY CUTTER KIT COMPLETE

1шт.

1

38-11624

LOCK PIN,1/4" x 1 1/2", Slotted

PIN, 1/4" x 1 1/2", Slotted

2шт.

2

700117405

PIN

- hammer

1шт.

3

705566

WASHER

3/4 HARDENED PLAIN WASHER

4шт.

4

700129356

SPACER

11шт.

5

700117391

TUBE,245.3, 184 mm Length

FRAME - support, pivot

1шт.

6

52928

WASHER

3/4 X 14 GAUGE WRMB

10шт.

7

700117406

LARGE PLATE

HAMMER

15шт.

8

413-852

BOLT,Hex, 1/2" - 13 x 3-1/4", Gr 5

1/2-13 X 3-1/4 C

3шт.

9

231-5348

FLANGE NUT,Flg, 1/2"-13

1/2-13 HFTLN GR/G

28шт.

10

433-820

CARRIAGE BOLT,Sq Nk, 1/2" - 13 x 1 1/4", Gr 5

1/2-13 X 1-1/4 RHSNB

18шт.

11

700117404

SUPPORT

- frame, right

3шт.

12

700117402

PAN

- right

1шт.

13

700117398

SUPPORT

1шт.

14

700117395

SUPPORT

1шт.

15

700117403

SUPPORT

- hammer

1шт.

16

433-824

CARRIAGE BOLT,Sq Nk, 1/2" - 13 x 1 1/2", Gr 5

1/2-13 X 1-1/2 RHSNB

6шт.

17

S120261

PIN

.148 WIRE HAIR PIN COTTER

1шт.

18

22897R1

HEADED PIN,1/2" x 4 1/2"

1/2 X 4-1/2 CLEVIS PIN

1шт.

19

413-880

BOLT,Hex, 1/2" - 13 x 5", Gr 5

1/2-13 X 5 C

1шт.

20

700117407

ANGLE

- right

1шт.

21

700117409

ANGLE

- left

1шт.

22

700117401

PAN

- left

1шт.

Выбрано товаров: 23