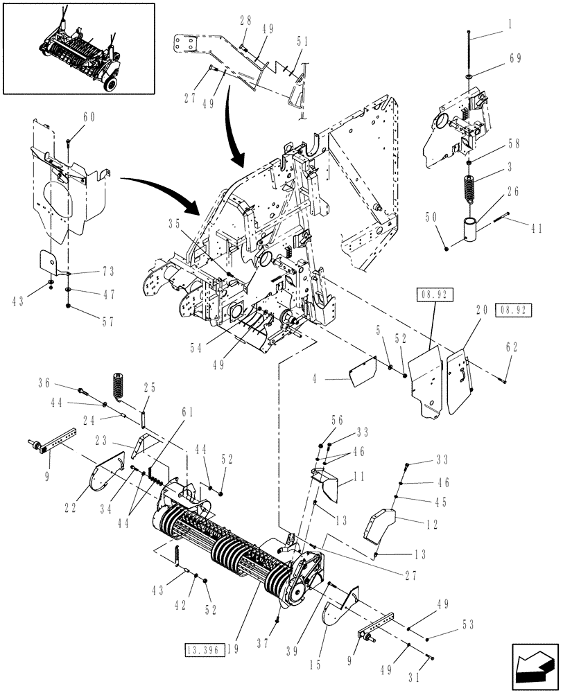
Запчасти Case IH RB454 (13.394) - 1.8M WIDE PICKUP, W/ ROTOR, EUROPE & R.O.W. (13) - FEEDER

Схема запчастей Case IH RB454 - (13.394) - 1.8M WIDE PICKUP, W/ ROTOR, EUROPE & R.O.W. (13) - FEEDER
9
33
46
44
25
44
52
26
19
13
23
45
50
57
49
58
27
49
31
9
49
27
28
08.92
13.396
08.92
62
24
73
60
34
46
53
37
49
12
4
51
54
69
43
43
44
15
52
49
41
36
35
42
20
3
5
11
22
61
33
47
52
1
39
13
56
FIT
1:1
100%

Артикул

Название

Примечание

Количество

1

86632865

BOLT,444.50mm

2шт.

3

87656382

SPRING

2шт.

4

86631989

SKIRT

2шт.

5

235126

WASHER,10.3mm ID x 38mm OD x 1.7mm Thk

6шт.

9

86640157

SUPPORT

2шт.

11

87745715

SHIELD

1шт.

12

86626278

SHIELD

1шт.

13

86610198

INSERT,M6 x 1

13шт.

15

86626383

SHIELD

1шт.

19

0C

ORDER COMPONENTS

1.8M Rotor Pickup

1шт.

20

0C

ORDER COMPONENTS

Rotor Shields

1шт.

87662529

1шт.

22

86625649

SHIELD

1шт.

23

87055752

SHIELD

1шт.

24

705996

BUSHING

2шт.

25

86621725

STRAP

2шт.

26

86900779

SHIELD

2шт.

27

86629541

BOLT,Hex, M12 x 1.75 x 40mm, Cl 8.8

8шт.

28

9706687

BOLT,M12 x 1.75 x 30mm, Cl 8.8

2шт.

31

9706693

BOLT,M12 x 60mm, Cl 8.8

2шт.

33

9804256

BOLT,Hex, M6 x 1 x 20mm, Full Thd, Cl 8.8

19шт.

34

9804265

FLANGE BOLT,Hex, M10 x 60mm, Cl 8.8

2шт.

35

9804261

BOLT,Hex, M10 x 25mm, Cl 8.8, Full Thd

6шт.

36

9804263

BOLT,M10 x 49.2mm, Cl 8.8

2шт.

37

9706703

CARRIAGE BOLT,Sht Sq Nk, M6 x 1 x 20mm, Cl 8.8, Full Thd

1шт.

39

80043480

BOLT

Rnd Hd Square Neck, M8.8 Course Thd

2шт.

41

280415

BOLT,Hex, 1/4" - 20 x 5", Gr 5

2шт.

42

213404

SPACER,10.3mm ID x 38.1mm OD x 5.2mm OAL

2шт.

43

87020910

SPACER,10.4mm ID x 19mm OD x 8.9mm Thk

2шт.

44

80702

WASHER,0.44" ID x 1" OD x 0.08" Thk

14шт.

45

80701

WASHER,0.31" ID x 0.73" OD x 0.07" Thk

8шт.

46

322357

BELLEVILLE WASHER,M6 Bolt Size x 14mm OD x 1.3mm Thk

20шт.

47

322358

BELLEVILLE WASHER,M8 Bolt Size x 18mm OD x 1.4mm Thk

1шт.

49

140046

BELLEVILLE WASHER,M12 Bolt Size x 27mm OD x 1.8mm Thk

14шт.

50

20356

NUT,1/4"-20, GB

2шт.

51

131405

SHIM

1шт.

52

100037

LOCK NUT,M10 x 1.5, Cl 8

10шт.

53

9804279

FLANGE NUT,Hex, M12, Cl 8

2шт.

54

9706685

NUT,M12 x 1.75, Cl 8

4шт.

55

9804278

FLANGE NUT,M10 x 1.5, Cl 8

1шт.

56

9804276

FLANGE NUT,Hex, M6 x 1, Cl 8

1шт.

57

9804277

FLANGE NUT,Hex, M8 x 1.25, Cl 8

1шт.

58

86521607

FLANGE NUT,Flg, 1/2"-13, G5

2шт.

60

9804258

BOLT,Hex, M8 x 1.25 x 20mm, Cl 8.8

1шт.

61

86631510

CHAIN,850.9mm L

2шт.

62

9671714

FLANGE BOLT,Hex, M8 x 1.25 x 25mm, Cl 8.8

1шт.

68

165109

DECAL

1шт.

69

65319

WASHER,13.1mm ID x 25.4mm OD x 3.68mm Thk

2шт.

73

87026987

SHIELD

1шт.

Выбрано товаров: 49