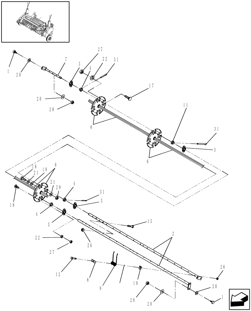
Запчасти Case IH RB454 (13.431[2]) - 2M WIDE PICKUP, REEL, (2) 43" TINE BARS.....SEE FIGURE NOTE FOR SERIAL NUMBERS. (13) - FEEDER

Схема запчастей Case IH RB454 - (13.431[2]) - 2M WIDE PICKUP, REEL, (2) 43" TINE BARS.....SEE FIGURE NOTE FOR SERIAL NUMBERS. (13) - FEEDER
31
18
29
27
3
6
21
18
12
8
17
31
20
15
11
3
20
20
4
26
4
3
27
9
22
26
3
1
7
6
28
21
10
4
31
2
6
19
22
1
28
20
FIT
1:1
100%

Артикул

Название

Примечание

Количество

1

84350126

CAM FOLLOWER,1/2" - 20 x 38mm OD x 54.5mm L

8шт.

MAINTENANCE PART

1шт.

2

87732738

TINE BAR

4шт.

MAINTENANCE PART

1шт.

3

54695

BEARING HOUSING

12шт.

MAINTENANCE PART

1шт.

4

86641856

BEARING,27.1 mm ID x 47 mm OD x 25.4 mm

8шт.

MAINTENANCE PART

1шт.

6

87732305

REEL DISC

1шт.

7

87732737

TINE BAR

4шт.

MAINTENANCE PART

1шт.

8

134921

BRACKET

64шт.

MAINTENANCE PART

1шт.

9

87394243

TORSION SPRING,Coiled, 2 Prong, 186.5mm L

Yellow

64шт.

MAINTENANCE PART

1шт.

NORTH AMERICA

1шт.

9

87394242

TORSION SPRING,Coiled, 2 Prong, 186.5mm L

Dk. Gray

64шт.

MAINTENANCE PART

1шт.

EUROPE & R.O.W.

1шт.

10

84427925

TINE BAR

64шт.

MAINTENANCE PART

1шт.

11

87056792

BEARING,27.3mm ID x 47.09mm OD x 12.83mm W

4шт.

MAINTENANCE PART

1шт.

12

130891

BOLT,Tine, 5/16" - 18 x 2"

64шт.

MAINTENANCE PART

1шт.

14

9849938

CARRIAGE BOLT,Sht Sq Nk, 3/8" - 16 x 7/8", Gr 5, Full Thd

8шт.

15

280702

HEX SOC SCREW,5/16 x 1-1/2"

64шт.

16

9515003

BOLT,Hex, M10 x 1.5 x 30mm, Cl 10.9

3шт.

17

86508748

CARRIAGE BOLT,Short Square Neck, 3/8" - 16 x 3/4", Grade 5

16шт.

18

86505999

BOLT,Hex, 5/8" - 11 x 2", Gr 5

4шт.

19

87365

WASHER,0.66" ID x 1.31" OD x 0.1" Thk

4ARшт.

20

703960

WASHER

16шт.

MAINTENANCE PART

1шт.

21

26382

WASHER

8шт.

22

80680

LOCK WASHER,3/8 0.381 CST ZND

24шт.

23

140045

BELLEVILLE WASHER,M10 Bolt Size x 22mm OD x 1.6mm Thk

3шт.

26

86629544

NUT,5/16” – 18, GR B

64шт.

MAINTENANCE PART

1шт.

27

9637692

NUT,3/8"-16, GB

24шт.

28

88130

NUT,1/2"-20, GC

8шт.

MAINTENANCE PART

1шт.

29

280374

NUT,Hex, 5/8" - 11, Gr 5

4шт.

31

136521

COTTER PIN,5.7mm OD x 44.45mm L

12шт.

MAINTENANCE PART

1шт.

Выбрано товаров: 44