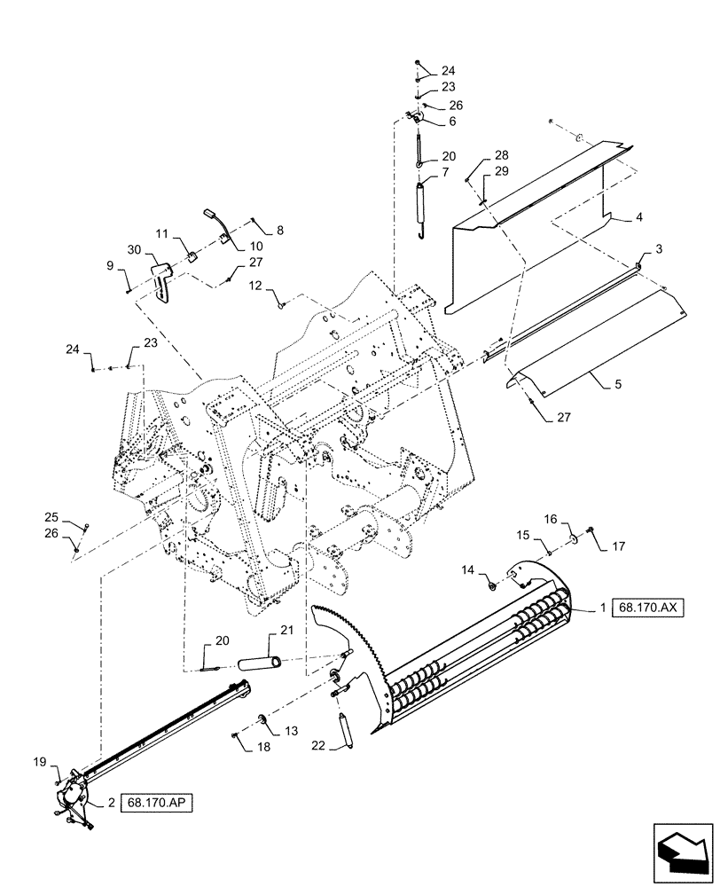
Запчасти Case IH RB455 (68.170.AG[01]) - VAR - 726666, 726964 - NET WRAP, YFN188618 AND PRIOR (68) - TYING/WRAPPING

Схема запчастей Case IH RB455 - (68.170.AG[01]) - VAR - 726666, 726964 - NET WRAP, YFN188618 AND PRIOR (68) - TYING/WRAPPING
14
4
20
30
1
10
68.170.ax
17
24
28
11
29
25
15
24
18
22
27
13
21
12
23
16
68.170.ap
9
26
8
19
2
7
27
26
20
23
6
5
3
FIT
1:1
100%

Артикул

Название

Примечание

Количество

1

0C

ORDER COMPONENTS

Duckbill

1шт.

2

0C

ORDER COMPONENTS

Net Knife

1шт.

3

47448397

SUPPORT

1шт.

4

47756766

SHIELD

Rubber

1шт.

5

47456889

SHIELD

1шт.

6

87661358

ANGLE

1шт.

7

87028495

SPRING

1шт.

8

86900323

NUT,#10 - 24

2шт.

9

87310126

SCREW,Phillips Drive, Pan HD, #10 - 24 x 3/4", SST

2шт.

10

86594422

SENSOR

Net Wrapper Duckbill Home Switch

2шт.

11

86624468

SPACER,1.65" L x 5/16” Thk

1шт.

12

86633356

CARRIAGE BOLT,M10 x 34.8mm, Cl 8.8

2шт.

13

47421209

SPACER,13.5mm ID x 50.8mm OD x 7mm L

1шт.

14

87521161

BUSHING,20.2mm ID x 44.5mm OD x 10.5mm Thk

1шт.

15

47613735

BUSHING

1шт.

16

29684

WASHER,13.5mm ID x 50.8mm OD x 5.52mm Thk

1шт.

17

9670066

FLANGE BOLT,Hex, M12 x 30mm, Cl 8.8

1шт.

18

87530646

HEX SOC SCREW,FLAT, M12 x 1.75 x 25mm, Cl 10.9

1шт.

19

9804261

BOLT,Hex, M10 x 25mm, Cl 8.8, Full Thd

3шт.

20

631201

EYEBOLT

2шт.

21

47942976

SPRING,Extension, 63.5mm OD x 214mm L

1шт.

22

86516632

SPRING,Extension, 1-3/8" OD x 6-9/16" L

1шт.

23

285072

WASHER,10.3mm ID x 22.2mm OD x 2.7mm Thk

2шт.

24

9628503

NUT,3/8"-16, G5

4шт.

25

84062222

BOLT,Hex, M10 x 45mm, Cl 8.8, Full Thd

1шт.

26

9804278

FLANGE NUT,M10 x 1.5, Cl 8

3шт.

27

86507486

CARRIAGE BOLT,M8 x 1.25 x 20mm, Cl 8.8

15шт.

28

9804277

FLANGE NUT,Hex, M8 x 1.25, Cl 8

15шт.

29

322

WASHER,8.73mm ID x 42.07mm OD x 3.43mm Thk

7шт.

30

47463423

PLATE

1шт.

Выбрано товаров: 30