Запчасти Case IH RB455 (35.540.AI[05]) - VAR - 726813, 727097 - BALE DENSITY HYDRAULICS, SINGLE HYDRAUIC CYLINDER ,YGN193203 AND AFTER (35) - HYDRAULIC SYSTEMS

Схема запчастей Case IH RB455 - (35.540.AI[05]) - VAR - 726813, 727097 - BALE DENSITY HYDRAULICS, SINGLE HYDRAUIC CYLINDER ,YGN193203 AND AFTER (35) - HYDRAULIC SYSTEMS
35.540.ai 02
3
13
21
15
6
20
16
10
8
7
9
18
4
12
14
11
18
2
17
5
19
20
19
1
21
FIT
1:1
100%

Артикул

Название

Примечание

Количество

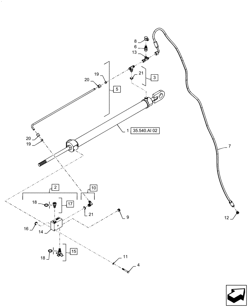
1

47860094

HYDRAULIC CYLINDER

Bale Density, Single Bypass

1шт.

2

47482872

HYDRAULIC MANIFOLD

Incl 14 - 17, Bale Tension, 2600 PSI without Bypass

1шт.

3

163335

TEE,9/16" - 18 ORB x 9/16" - 18 JIC x 9/16" - 18 JIC

Incl 21

1шт.

4

86505972

BOLT,5/16" - 18 x 2 - 1/4", Gr 5

2шт.

5

47875110

HYD TUBE

RH, 9.5mm OD x 689.3mm Long, Incl 19, 20

1шт.

6

101792A1

COUPLING

Diagnostic

1шт.

7

84563528

HYDRAULIC HOSE,6.3mm ID x 2794mm L, SAE 100R17

110" - SAE-6 9/16" 18 Female 37° JIC Straight x SAE-6 9/16" 18 Female 37° JIC 90°

1шт.

8

86502604

DUST CAP

Black

1шт.

9

9625178

PLUG,9/16" - 18 ORB

1шт.

10

76344

90 ELBOW,9/16" - 18 JIC x 9/16" - 18 ORB

Incl 21

1шт.

11

80681

LOCK WASHER,5/16"

2шт.

12

86513049

PLUG,9/16" - 18 JIC

1шт.

13

129274

TEE,9/16" - 18 JIC x 9/16" - 18 JIC x 9/16" - 18 JIC

1шт.

14

NSS

NOT SOLD SEPARAT

Manifold, Incl with 2, 3

1шт.

15

47604142

VALVE PRESSURE RELIE

2600 PSI, Incl 18

1шт.

16

128359

O-RING,0.07" Thk x 0.614" ID, -16, Cl 5, 75 Duro

2шт.

17

84559455

CHECK VALVE

Incl 18

1шт.

18

377451A1

SEAL KIT

Needle

3шт.

19

235670

SLEEVE,37 Degree, 3/8" Tube

1шт.

20

136658

TUBE NUT,0.72" Length

1шт.

21

9617873

O-RING,0.078" Thk x 0.468" ID, -906, Cl 6, 90 Duro

2шт.

Выбрано товаров: 21