Качественные детали и логистика
Оригинальные и аналоговые запчасти с доставкой по России, Казахстану и Беларуси
©2022 PartSell ООО "Система" ИНН 2463123282 ОГРН 1212400004838
Центральный офис: г. Красноярск, Академика Киренского, д.87, пом.4
Телефон: 8 (800) 777-65-74 Email: zakaz@partsell.ru
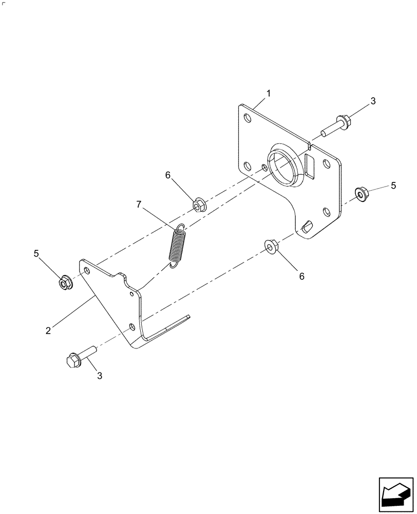
(90.105.03) - SIDE DOOR LATCH
№
Артикул
Название
Примечание
Количество
1
84133432
PLATE
1шт.
2
84133431
LATCH
3
9804257
FLANGE BOLT,Hex, M6 x 1.0 x 25mm, Cl 8.8, Full Thd
2шт.
4
12255
SPRING
5
86619800
FLANGE NUT,M6 x 1, Cl 8
6
9804276
FLANGE NUT,Hex, M6 x 1, Cl 8
7
Выбрано товаров: 0