Запчасти Case IH RB455A (62.150.06) - LACED CHEVRON BELTS (62) - PRESSING - BALE FORMATION

Схема запчастей Case IH RB455A - (62.150.06) - LACED CHEVRON BELTS (62) - PRESSING - BALE FORMATION
2
1
5
5
4
7
4
5
6
3
home
5
4
4
3
7
4
5
FIT
1:1
100%

Артикул

Название

Примечание

Количество

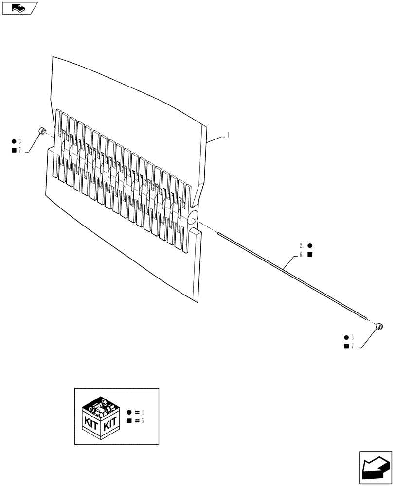
1

87056534

BELT,177.80 mm W x 8712.20 mm L

Chevron Laced

5шт.

2

9843257

CABLE

Lacing

5шт.

3

9843258

TUBE

Cable

10шт.

4

84134360

LACING CABLE KIT

Standard Duty, Includes: (8) Ref. 2, (18) Ref. 3 & Installations Instructions

1шт.

Refer to Installation Instructions for Correct Assembly Procedure

1шт.

5

84134363

LACING CABLE KIT

Heavy Duty, Includes: (10) Ref. 6, (20) Ref. 7 & Installations Instructions

1шт.

Refer to Installation Instructions for Correct Assembly Procedure

1шт.

6

87343633

CABLE

Lacing, White

10шт.

7

87343634

RETAINER

Cable Retainer

20шт.

Выбрано товаров: 9