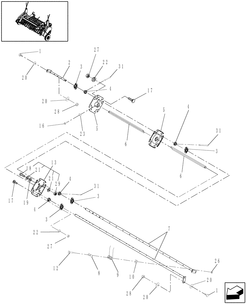
Запчасти Case IH RB464 (13.385[1]) - 1.8M DUAL CAM WIDE PICKUP, REEL, BETWEEN P.I.N. Y7N032117 & Y8N0388893 (13) - FEEDER

Схема запчастей Case IH RB464 - (13.385[1]) - 1.8M DUAL CAM WIDE PICKUP, REEL, BETWEEN P.I.N. Y7N032117 & Y8N0388893 (13) - FEEDER
23
27
5
20
22
5
19
3
3
1
26
4
20
17
8
4
28
12
6
10
2
17
13
3
3
28
31
31
27
9
18
6
1
21
20
22
21
31
29
4
4
16
20
7
FIT
1:1
100%

Артикул

Название

Примечание

Количество

1

84350126

CAM FOLLOWER,1/2" - 20 x 38mm OD x 54.5mm L

8шт.

MAINTENANCE PART

1шт.

2

87023410

TINE BAR,300.5mm L

4шт.

MAINTENANCE PART

1шт.

3

54695

BEARING HOUSING

12шт.

MAINTENANCE PART

1шт.

4

86641856

BEARING,27.1 mm ID x 47 mm OD x 25.4 mm

12шт.

MAINTENANCE PART

1шт.

5

87642493

DISC

4-Tine Bar, Center & RH

2шт.

5

87047356

DISC

5-Tine Bar, Optional

3шт.

Used to Covert a Pickup from 4-Tine Bar to 5-Tine Bar. Use Existing Parts & Hardware. Order Additional Parts & Hardware as Required.

1шт.

6

87643530

SHAFT

1шт.

7

87040882

ARM

LH

4шт.

MAINTENANCE PART

1шт.

8

134921

BRACKET

Pickup Tooth

56шт.

MAINTENANCE PART

1шт.

9

87394242

TORSION SPRING,Coiled, 2 Prong, 186.5mm L

Pickup, Curved, Premium, Standard

56шт.

MAINTENANCE PART

1шт.

9

87607074

TINE

Pickup, Curved, Economy, Optional

56шт.

MAINTENANCE PART

1шт.

10

86627654

TINE BAR

Tooth

56шт.

MAINTENANCE PART

1шт.

12

87642989

BOLT,Tine, 5/16" - 18 x 2"

Special, Pickup Finger

56шт.

MAINTENANCE PART

1шт.

13

87642981

DISC

4-Tine Bar, LH

1шт.

16

627-10030

BOLT,Hex, M10 x 1.5 x 30mm, Cl 10.9, Full Thd

3шт.

17

434-612

CARRIAGE BOLT,Sht Sq Nk, 3/8" - 16 x 3/4", Gr 5

24шт.

18

120090

BOLT,Hex, M16 x 50mm, Cl 8.8

4шт.

19

140020

WASHER,17.5mm ID x 30mm OD x 3mm Thk

1шт.

20

87642988

WASHER,13.08mm ID x 31.8mm OD x 1.5mm Thk

1-1/4" OD, Hardened

16шт.

MAINTENANCE PART

1шт.

21

87642936

WASHER,16.8mm ID x 27.7mm OD x 1.7mm Thk

21/32" ID x 1-3/32" OD x .060" (16 Gauge) Thick

16шт.

22

492-11038

LOCK WASHER,3/8"

24шт.

23

140045

BELLEVILLE WASHER,M10 Bolt Size x 22mm OD x 1.6mm Thk

3шт.

26

231-4145

NUT,5/16"-18, GB

56шт.

MAINTENANCE PART

1шт.

26

231-4145

NUT,5/16"-18, GB

64шт.

27

231-4146

NUT,3/8"-16, GB

24шт.

28

88130

NUT,1/2"-20, GC

8шт.

MAINTENANCE PART

1шт.

29

100020

NUT,M16 x 2.0, Cl 8

4шт.

31

136521

COTTER PIN,5.7mm OD x 44.45mm L

Hardened, 1/4" x 1-3/4"

12шт.

MAINTENANCE PART

1шт.

Выбрано товаров: 43