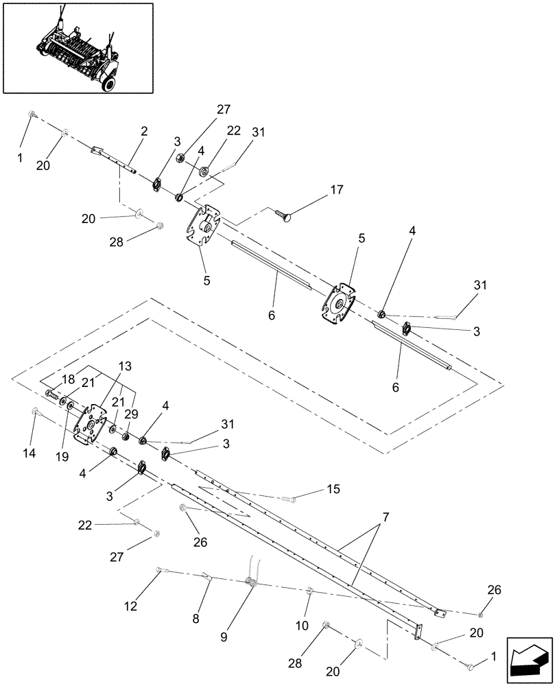
Запчасти Case IH RB464 (13.431[1]) - 2M WIDE PICKUP, REEL, 12" & 85" TINE BAR.....SEE FIGURE NOTE FOR SERIAL NUMBERS. (13) - FEEDER

Схема запчастей Case IH RB464 - (13.431[1]) - 2M WIDE PICKUP, REEL, 12" & 85" TINE BAR.....SEE FIGURE NOTE FOR SERIAL NUMBERS. (13) - FEEDER
28
31
31
9
27
19
3
13
29
6
17
14
26
4
4
20
26
18
28
3
31
20
6
1
20
22
15
22
21
2
7
3
12
4
10
5
3
21
4
27
8
1
5
20
FIT
1:1
100%

Артикул

Название

Примечание

Количество

1

84350126

CAM FOLLOWER,1/2" - 20 x 38mm OD x 54.5mm L

8шт.

MAINTENANCE PART

1шт.

2

87023410

TINE BAR,300.5mm L

4шт.

MAINTENANCE PART

1шт.

3

54695

BEARING HOUSING

12шт.

MAINTENANCE PART

1шт.

4

54770

BALL BEARING,27.33 mm ID x 47.092 mm OD x 25.4 mm

12шт.

MAINTENANCE PART

1шт.

5

86626587

DISC

4-Tine Bar, Center & RH

2шт.

5

87047356

DISC

5-Tine Bar, Optional

3шт.

Used to Covert a Pickup from 4-Tine Bar to 5-Tine Bar. Use Existing Parts & Hardware. Order Additional Parts & Hardware as Required.

1шт.

6

86594682

SHAFT

1шт.

7

87653762

TINE BAR,2172.3mm L

4шт.

MAINTENANCE PART

1шт.

8

134921

BRACKET

Pickup Tooth

64шт.

MAINTENANCE PART

1шт.

9

87394242

TORSION SPRING,Coiled, 2 Prong, 186.5mm L

Pickup, Curved, Premium, Standard

64шт.

MAINTENANCE PART

1шт.

9

87607074

TINE

Pickup, Curved, Economy, Optional

64шт.

MAINTENANCE PART

1шт.

10

86627654

TINE BAR

Tooth

64шт.

MAINTENANCE PART

1шт.

12

130891

BOLT,Tine, 5/16" - 18 x 2"

Special, Pickup Finger

64шт.

MAINTENANCE PART

1шт.

13

87034617

DISC

4-Tine Bar, LH

1шт.

14

9849938

CARRIAGE BOLT,Sht Sq Nk, 3/8" - 16 x 7/8", Gr 5, Full Thd

8шт.

15

280702

HEX SOC SCREW,5/16 x 1-1/2"

8шт.

16

627-10030

BOLT,Hex, M10 x 1.5 x 30mm, Cl 10.9, Full Thd

3шт.

17

434-612

CARRIAGE BOLT,Sht Sq Nk, 3/8" - 16 x 3/4", Gr 5

16шт.

18

413-1032

BOLT,Hex, 5/8" - 11 x 2", Gr 5

4шт.

19

95-11066

WASHER,5/8"

1шт.

20

703960

WASHER

1-1/4" OD, Hardened

16шт.

MAINTENANCE PART

1шт.

21

26382

WASHER

21/32" ID x 1-3/32" OD x .060" (16 Gauge) Thick

16шт.

22

492-11038

LOCK WASHER,3/8"

24шт.

23

140045

BELLEVILLE WASHER,M10 Bolt Size x 22mm OD x 1.6mm Thk

3шт.

26

231-4145

NUT,5/16"-18, GB

72шт.

MAINTENANCE PART

1шт.

27

231-4146

NUT,3/8"-16, GB

24шт.

28

88130

NUT,1/2"-20, GC

8шт.

MAINTENANCE PART

1шт.

29

425-1010

NUT,5/8"-11, G5

4шт.

31

136521

COTTER PIN,5.7mm OD x 44.45mm L

Hardened, 1/4" x 1-3/4"

12шт.

MAINTENANCE PART

1шт.

Выбрано товаров: 44