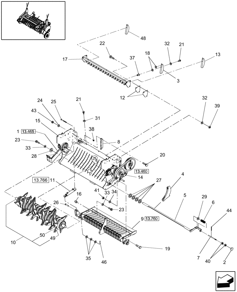
Запчасти Case IH RB464 (13.705) - ROTOR CUTTER (13) - FEEDER

Схема запчастей Case IH RB464 - (13.705) - ROTOR CUTTER (13) - FEEDER
13.460
22
33
34
18
32
25
43
17
11
31
40
21
19
49
33
35
2
28
44
6
38
26
12
16
9
50
15
32
4
27
7
29
46
23
23
21
14
48
41
39
5
8
3
20
13
1
37
24
10
13.766
13.760
FIT
1:1
100%

Артикул

Название

Примечание

Количество

1

0C

ORDER COMPONENTS

Rotor Drive, RH

1шт.

2

87723314

SUPPORT

1шт.

3

87649040

SUPPORT

Center

16шт.

4

87036000

KNIFE

Heat-Treated

15шт.

Refer to Fig. 13.765, Ref. 34 for Dummy Knives

1шт.

MAINTENANCE PART

1шт.

4

87040884

KNIFE

Heat-Treated & Hard-Faced

15шт.

Refer to Fig. 13.765, Ref. 34 for Dummy Knives

1шт.

MAINTENANCE PART

1шт.

4

87040985

DIA KIT, HARVESTER

Knife, Includes: (15) 87040884 Heat-Treated & Hard-Faced

1шт.

Refer to Fig. 13.765, Ref. 34 for Dummy Knives

1шт.

MAINTENANCE PART

1шт.

5

86610126

SHAFT

1шт.

6

151990

SPRING,22.2mm OD x 127mm L

1шт.

7

84056189

PIN

1шт.

8

87037768

DEFLECTOR

2шт.

9

0C

ORDER COMPONENTS

Rotor Knife

1шт.

10

87036960

ROTOR

422 mm OD

1шт.

All North American Balers & Europe Balers P.I.N. Y9N043084 & Prior

1шт.

10

87048738

ROTOR

455 mm OD, Start Serial: Y9N043085

1шт.

EUROPE & R.O.W.

1шт.

11

87029395

CYLINDER ASSY.,Double Acting, 19.05mm Rod, 119.89mm Stroke

Rotor Knife

1шт.

Manufacturer's Production Date Stamp - (ex. M 02 2003 = M / week / year )

1шт.

12

87648668

SHIM,125mm OD x 1mm Thk

6/ARшт.

13

87723299

SUPPORT

LH

1шт.

14

0C

ORDER COMPONENTS

Rotor Drive, LH

1шт.

15

87042510

FRAME ASSY

Rotor Cutter, Dk. Gray, for 422 mm

1шт.

15

84183548

FRAME

Rotor Cutter, Dk. Gray, for 455 mm

1шт.

16

84039310

HEX PLUG,44mm L

Int. Thread, M12 x 1.75

2шт.

17

87041390

GRILLE

1шт.

18

87016

WASHER,0.41" ID x 0.81" OD x 0.07" Thk

1шт.

19

43167

BOLT,Hex, M16 x 30mm, Cl 8.8, Full Thd

4шт.

20

9706703

CARRIAGE BOLT,Sht Sq Nk, M6 x 1 x 20mm, Cl 8.8, Full Thd

8шт.

21

9804261

BOLT,Hex, M10 x 25mm, Cl 8.8, Full Thd

36шт.

22

811-10025

CARRIAGE BOLT,Sht Sq Nk, M10 x 1.5 x 25mm, Cl 8.8

6шт.

23

614-12030

BOLT,Hex, M12 x 1.75 x 30mm, Cl 8.8, Full Thd

17шт.

24

322357

BELLEVILLE WASHER,M6 Bolt Size x 14mm OD x 1.3mm Thk

8шт.

25

413-1256

BOLT,Hex, 3/4" - 10 x 3-1/2", Gr 5

1шт.

26

270134

CLEVIS PIN

5/8" x 2 -3/4"

1шт.

27

164995

WASHER,32.5mm ID x 42.9mm OD x 4.38mm Thk

1-1/4"

1шт.

28

80700

WASHER,0.56" ID x 1.38" OD x 0.11" Thk

1шт.

29

495-11053

WASHER,1/2", SAE

5шт.

30

86507486

CARRIAGE BOLT,M8 x 1.25 x 20mm, Cl 8.8

2шт.

31

412655

BELLEVILLE WASHER,M10 Bolt Size x 20mm OD x 1.6mm Thk

36шт.

32

140045

BELLEVILLE WASHER,M10 Bolt Size x 22mm OD x 1.6mm Thk

6шт.

33

140046

BELLEVILLE WASHER,M12 Bolt Size x 27mm OD x 1.8mm Thk

15шт.

34

140048

BELLEVILLE WASHER,M16 Bolt Size x 32mm OD x 2.8mm Thk

4шт.

35

273127

WASHER,16.67mm ID x 28.57mm OD x 7.37mm Thk

1-1/8" OD

3шт.

37

412105

NUT,M10, Cl 8

36шт.

38

231-41412

NUT,3/4"-10, GB

1шт.

39

825-2410

FLANGE NUT,M10 x 1.5, Flg, Cl 8

6шт.

40

825-1412

NUT,M12, Cl 8

2шт.

41

825-1416

NUT,M16, Cl 8

4шт.

43

825-2406

FLANGE NUT,M6 x 1, Cl 8.8

8шт.

44

838-5526

LOCK PIN,M5 x 26, Slotted

1шт.

46

432-824

COTTER PIN,1/8" x 1 1/2"

1шт.

48

87723314

SUPPORT

RH

1шт.

49

87032629

FINGER

Small, 399 mm OD

2шт.

All North American Balers & Europe Balers P.I.N. Y9N043084 & Prior

1шт.

49

87032628

FINGER

Large, 422 mm OD, Start Serial: Y9N043085

2шт.

EUROPE & R.O.W.

1шт.

50

87032628

FINGER

Large, 422 mm OD

12шт.

All North American Balers & Europe Balers P.I.N. Y9N043084 & Prior

1шт.

50

87048145

FINGER

X-Large, 455 mm OD, Start Serial: Y9N043085

12шт.

EUROPE & R.O.W.

1шт.

Выбрано товаров: 65