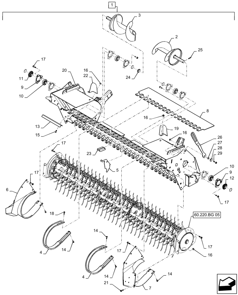
Запчасти Case IH RB465 (60.220.BD[13]) - VAR - 726918 - 2M NON ROTOR PICKUP ASSEMBLY (60) - PRODUCT FEEDING

Схема запчастей Case IH RB465 - (60.220.BD[13]) - VAR - 726918 - 2M NON ROTOR PICKUP ASSEMBLY (60) - PRODUCT FEEDING
4
16
17
17
60.220.bg 05
17
18
26
3
16
4
16
7
15
22
29
1
23
12
14
25
6
16
21
9
14
19
13
14
17
28
20
8
24
10
17
11
14
5
27
2
17
10
9
FIT
1:1
100%

Артикул

Название

Примечание

Количество

1

47517979

PICK-UP

2M Rotor Pickup Assembly, Incl 2 - 29

1шт.

2

84373925

AUGER

LH

1шт.

3

84373865

AUGER

RH

1шт.

4

84329282

GUARD

31шт.

5

84297360

DIVIDER

31шт.

6

84305031

GUIDE

RH

1шт.

Used with Gathering Wheels

1шт.

6

47847841

GUARD

RH

1шт.

Used without Gathering Wheels

1шт.

7

84305034

GUIDE

LH

1шт.

Used with Gathering Wheels

1шт.

7

47881435

GUARD

LH

1шт.

Used without Gathering Wheels

1шт.

8

47864510

FLOOR,260mm W x 1150mm L x 6.35mm Thk, Polyurethane

1шт.

9

84414985

FLANGED BEARING

8шт.

10

84324246

SPHERICAL BEARING,31.75mm ID x 72mm OD x 25mm Thk

4шт.

11

84372087

SPROCKET,RC60, 11T

11T, RC60

1шт.

12

84372082

SPROCKET,RC50, 13T

13T, RC50

1шт.

13

84374389

ANGLE

2шт.

14

87039762

SELF-TAP SCREW,Hex Wash Hd, 5/16"-18 x 5/8"

92шт.

15

86633356

CARRIAGE BOLT,M10 x 34.8mm, Cl 8.8

6шт.

16

9804278

FLANGE NUT,M10 x 1.5, Cl 8

18шт.

17

86050286

FLANGE BOLT,M10 x 20mm, Cl 8.8

24шт.

18

87577839

SELF-TAP SCREW,Hex Washer Hd, 5/16" - 18 x 7/8"

34шт.

19

84385892

SHIELD

LH Upper

1шт.

20

84522979

FRAME

1шт.

21

9804261

BOLT,Hex, M10 x 25mm, Cl 8.8, Full Thd

13шт.

22

84385890

SHIELD

RH Upper

1шт.

23

84404702

DIVIDER

31шт.

24

47431597

SPACER,Hex, 33mm ID x 45mm OD x 1.98mm Thk

6шт.

25

13942970

ROLL PIN,M6 x 45, Coiled

2шт.

26

84307932

LINK

2шт.

27

87020910

SPACER,10.4mm ID x 19mm OD x 8.9mm Thk

2шт.

28

213404

SPACER,10.3mm ID x 38.1mm OD x 5.2mm OAL

2шт.

29

9804263

BOLT,M10 x 49.2mm, Cl 8.8

2шт.

Выбрано товаров: 35