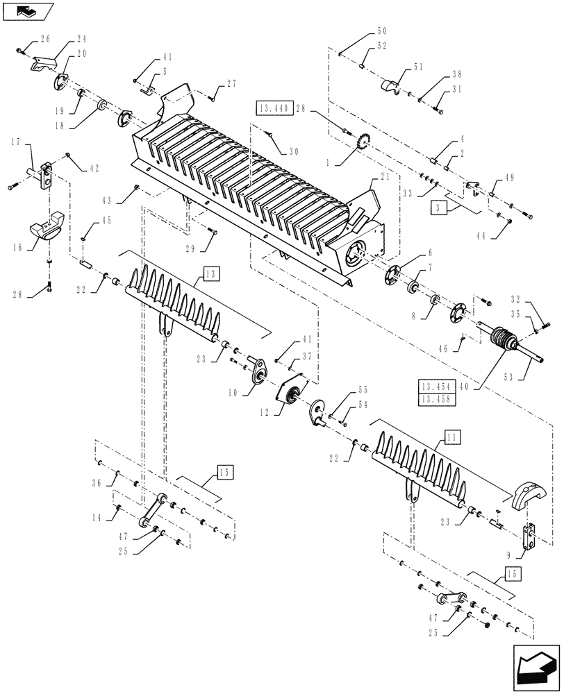
Запчасти Case IH RB564 (13.530[02]) - STUFFER FEEDER, P.I.N. YBN171040 & AFTER (13) - FEEDER

Схема запчастей Case IH RB564 - (13.530[02]) - STUFFER FEEDER, P.I.N. YBN171040 & AFTER (13) - FEEDER
13.454
51
10
home
25
22
36
54
11
33
28
26
30
28
38
12
4
8
22
5
13
3
35
37
32
25
31
6
47
18
16
2
46
41
24
45
41
19
15
27
1
52
44
53
23
15
17
21
50
43
47
14
42
49
9
7
20
29
23
40
55
13.440
13.458
FIT
1:1
100%

Артикул

Название

Примечание

Количество

1

86627870

DRIVEN SPROCKET,15T

Idler, 15T

1шт.

2

284881

SPACER

3/4" OD x 1-1/16" Lg.

1шт.

3

86543077

ARM

1шт.

4

86705271

SPACER,13.5mm ID x 25.4mm OD x 34mm L

1" OD x 1-1/16" Lg.

1шт.

5

66463

BRACKET

4шт.

6

138820

FLANGED BEARING

Bearing

2шт.

7

47066

BALL BEARING,35mm ID x 72mm OD x 19mm W

1шт.

8

47067

RETAINER COLLAR,34.92mm ID x 56.33mm OD x 17.46mm Thk

Locking, Includes: Set Screw

1шт.

9

86625655

ARM

LH

1шт.

10

84525544

SHAFT

2шт.

11

84526342

FINGER ASSY.

LH

1шт.

12

84526387

BEARING ASSY

Center Bearing, Incl 34

1шт.

Bearing & Housing are Select-Fit. Bearing is Not Serviced Separately

1шт.

13

84526343

FEEDER

RH

1шт.

14

718013

SPACER

8шт.

15

87043492

ARM ASSY.

2шт.

16

86627115

WEIGHT

Counter

2шт.

17

87515101

CRANK

RH

1шт.

18

38767

COLLAR,Lock, 31.9mm ID x 44mm OD 15.9mm Thk

Locking, W/ Set Screw

1шт.

19

84484181

BALL BEARING,31.75mm ID x 62mm OD x 18mm W

1-1/4" ID x 2.44" OD

1шт.

19

84484181GV

BEARING ASSY

Value, Ball Bearing

1шт.

20

87758678

FLANGE

2шт.

21

87046282

FRAME

1шт.

22

86606367

SEAL,30mm ID x 42mm OD x 7mm Thk

4шт.

23

86606298

BUSHING,30.12mm ID x 42.11mm OD x 42mm L

4шт.

24

87634130

COVER

1шт.

25

66967

SNAP RING,1.75", Int, #175

4шт.

26

86050286

FLANGE BOLT,M10 x 20mm, Cl 8.8

9шт.

27

86507486

CARRIAGE BOLT,M8 x 1.25 x 20mm, Cl 8.8

4шт.

28

9706693

BOLT,M12 x 60mm, Cl 8.8

5шт.

29

87337

BOLT,Hex, 3/4" - 10 x 3", Gr 5

4шт.

30

86512420

CARRIAGE BOLT,Rnd Head, M8 x 1.25 x 20mm, Full Thd, Cl 8.8

4шт.

31

412085

BOLT,Hex, M12 x 1.75 x 80mm, Cl 10.9

4шт.

32

393599

SET SCREW,M10 x 25mm, Cl 12.9

1шт.

33

87364

WASHER,0.53" ID x 1.06" OD x 0.1" Thk

4шт.

34

84493008

SHAFT

1шт.

Not Illustrated

1шт.

35

100016

NUT,M10 x 1.5, Cl 8

1шт.

36

600083

WASHER,19.3mm ID x 28.7mm OD x 1.36mm Thk

3/4"ID x 1-1/8"OD

8шт.

37

322358

BELLEVILLE WASHER,M8 Bolt Size x 18mm OD x 1.4mm Thk

4шт.

38

140046

BELLEVILLE WASHER,M12 Bolt Size x 27mm OD x 1.8mm Thk

6шт.

40

0C

ORDER COMPONENTS

Clutch, Radial Pin

1шт.

41

86629542

NUT,M8 x 1.25, Cl 8.8

8шт.

42

412672

NUT,Hex, M12 x 1.75, Cl 10

3шт.

43

9626598

NUT,3/4"-10, GB

4шт.

44

9706685

NUT,M12 x 1.75, Cl 8

1шт.

45

170030

KEY,8mm x 7mm x 32mm

1шт.

46

87831

WOODRUFF KEY,#D, 5/16" x 1 1/4", HT

1шт.

47

9807906

BALL BEARING,0.7504" ID x 1.7805" OD x 0.61"

4шт.

49

87040968

BUSHING

.752" ID x .875" OD x .750" Lg.

1шт.

50

81541

WASHER,0.5" ID x 1.25" OD x 0.08" Thk

3/ARшт.

51

87346700

ARM

Idler

1шт.

52

87470734

SPACER

1шт.

53

84173847

SHAFT

1шт.

54

393698

SCREW,FLAT, M10 x 25mm, Cl 8.8

2шт.

55

84493033

CAP WASHER

2шт.

Выбрано товаров: 56