Запчасти Case IH RB565 (60.220.BG[03]) - VAR - 726916 - 2M REEL 4-BAR, STEEL TINES (60) - PRODUCT FEEDING

Схема запчастей Case IH RB565 - (60.220.BG[03]) - VAR - 726916 - 2M REEL 4-BAR, STEEL TINES (60) - PRODUCT FEEDING
5
22
6
29
26
24
15
14
30
5
35
22
22
21
31
27
8
5
21
23
17
31
27
5
2
31
19
30
37
36
33
4
7
19
21
11
35
23
25
24
18
3
10
28
23
29
15
16
25
home
12
20
28
1
26
17
13
20
30
9
32
16
20
33
8
31
9
34
FIT
1:1
100%

Артикул

Название

Примечание

Количество

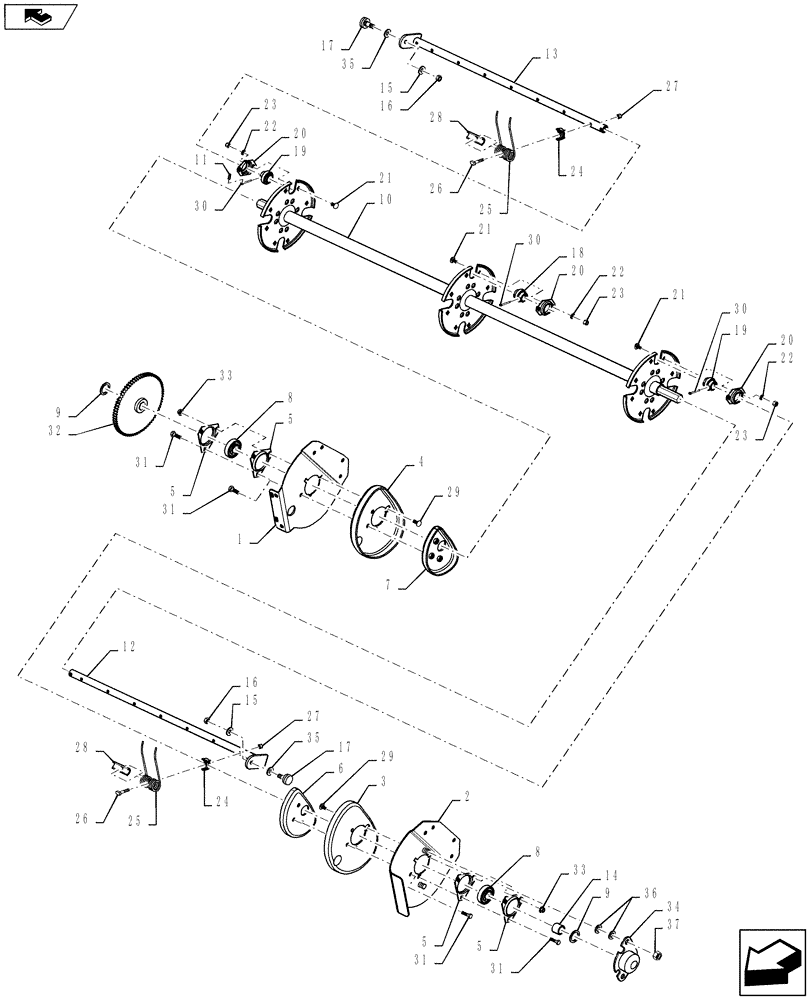
1

84424264

PLATE

RH

1шт.

2

84532236

PLATE

LH

1шт.

3

84291845

CAM

LH Outer

1шт.

4

84291843

CAM

RH Outer

1шт.

5

578189

FLANGE

4шт.

6

84327846

CAM

LH Inner

1шт.

7

84327847

CAM

RH Inner

1шт.

8

84324246

SPHERICAL BEARING,31.75mm ID x 72mm OD x 25mm Thk

2шт.

9

47431597

SPACER,Hex, 33mm ID x 45mm OD x 1.98mm Thk

2шт.

10

84408474

REEL

2M, 4 Bar

1шт.

11

47432155

COILED PIN,7/32" OD x 1-3/4" L

2шт.

12

84423762

ARM

LH

4шт.

13

84423757

ARM

RH

4шт.

14

84427184

SPACER,37.3mm ID x 45.3mm OD x 22.5mm Thk

1шт.

15

84420719

WASHER,13.08mm ID x 31.8mm OD x 1.5mm Thk

8шт.

16

88130

NUT,1/2"-20, GC

8шт.

17

84350126

CAM FOLLOWER,1/2" - 20 x 38mm OD x 54.5mm L

8шт.

18

84266808

BEARING ASSY,27.28mm ID x 47mm OD x 12.7mm W

4шт.

19

86641856

BEARING,27.1 mm ID x 47 mm OD x 25.4 mm

8шт.

20

54695

BEARING HOUSING

12шт.

21

86508748

CARRIAGE BOLT,Short Square Neck, 3/8" - 16 x 3/4", Grade 5

24шт.

22

80680

LOCK WASHER,3/8 0.381 CST ZND

24шт.

23

9637692

NUT,3/8"-16, GB

24шт.

24

84427925

TINE BAR

64шт.

25

84133738

TINE

64шт.

26

130891

BOLT,Tine, 5/16" - 18 x 2"

64шт.

27

86629544

NUT,5/16” – 18, GR B

64шт.

28

134921

BRACKET

Tooth

64шт.

29

86633356

CARRIAGE BOLT,M10 x 34.8mm, Cl 8.8

2шт.

30

136521

COTTER PIN,5.7mm OD x 44.45mm L

16шт.

31

86511845

BOLT,M10 x 44.2mm OAL, Cl 8.8, Full Thd

6шт.

32

84362185

SPROCKET

1шт.

33

9804278

FLANGE NUT,M10 x 1.5, Cl 8

2шт.

34

47390411

COVER

1шт.

35

84420719

WASHER,13.08mm ID x 31.8mm OD x 1.5mm Thk

8шт.

36

87364

WASHER,0.53" ID x 1.06" OD x 0.1" Thk

4шт.

37

100038

NUT,M12 x 1.75, Cl 8

2шт.

Выбрано товаров: 37