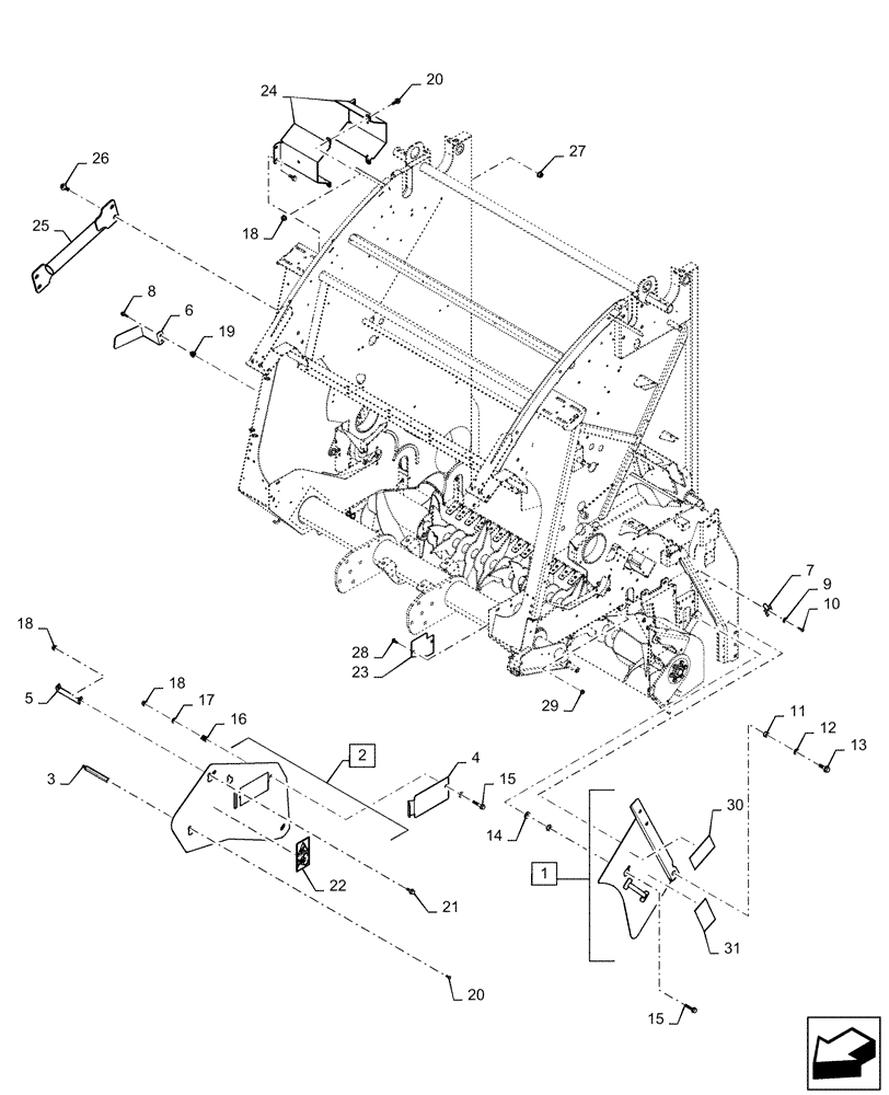
Запчасти Case IH RB565 (90.105.AS[02]) - VAR - 722000 - 2.0M STANDARD PICKUP SHIELDS, LH (90) - PLATFORM, CAB, BODYWORK AND DECALS

Схема запчастей Case IH RB565 - (90.105.AS[02]) - VAR - 722000 - 2.0M STANDARD PICKUP SHIELDS, LH (90) - PLATFORM, CAB, BODYWORK AND DECALS
29
8
4
22
12
18
25
20
17
3
20
2
10
31
19
18
5
14
11
30
21
27
28
18
26
13
7
23
1
9
6
16
15
24
15
FIT
1:1
100%

Артикул

Название

Примечание

Количество

1

47661881

SHIELD

Incl 30-31

1шт.

2

47564014

SHIELD

Incl 22

1шт.

3

47394340

SHAFT

1шт.

4

47364371

SHIELD

1шт.

5

47394554

BRACKET

1шт.

6

84594639

BRACKET

1шт.

7

47325

CLIP

1шт.

8

9804256

BOLT,Hex, M6 x 1 x 20mm, Full Thd, Cl 8.8

2шт.

9

280254

LOCK WASHER,5.18mm ID x 9.68mm OD x 0.64mm Thk

1шт.

10

86511920

SCREW,Phillips Drive, Pan HD, #10 - 24 x 1/2"

1шт.

11

698748

BUSHING,10.3mm ID x 15.88mm OD x 9.53mm L

1шт.

12

140017

WASHER,M10 x 20mm OD x 2mm Thk

1шт.

13

9804262

BOLT,M10 x 39.2mm, Cl 8.8

1шт.

14

87363

WASHER,0.47" ID x 0.92" OD x 0.07" Thk

2шт.

15

86511842

BOLT,M8 x 1.25 x 48.1mm OAL, Cl 8.8

2шт.

16

11104

SPRING

1шт.

17

87362

WASHER,5/16" SAE

2шт.

18

9804277

FLANGE NUT,Hex, M8 x 1.25, Cl 8

6шт.

19

86610198

INSERT,M6 x 1

2шт.

20

9804258

BOLT,Hex, M8 x 1.25 x 20mm, Cl 8.8

7шт.

21

86511841

BOLT,Flng, M8 x 1.25 x 16mm, Full Thd, Cl 8.8

1шт.

22

84004734

WARNING DECAL

1шт.

23

47427240

COVER

2шт.

24

47446960

SHIELD

2шт.

25

47444098

REINFORCEMENT

1шт.

26

9804261

BOLT,Hex, M10 x 25mm, Cl 8.8, Full Thd

4шт.

27

9804278

FLANGE NUT,M10 x 1.5, Cl 8

4шт.

28

9706703

CARRIAGE BOLT,Sht Sq Nk, M6 x 1 x 20mm, Cl 8.8, Full Thd

4шт.

29

9804276

FLANGE NUT,Hex, M6 x 1, Cl 8

4шт.

30

47387483

DECAL

Hydraulic Lockout

1шт.

31

47361329

DANGER DECAL

1шт.

Выбрано товаров: 31