Запчасти Case IH RB565 (90.108.AC[02]) - DECALS, SAFETY AND INFORMATION, LH (90) - PLATFORM, CAB, BODYWORK AND DECALS

Схема запчастей Case IH RB565 - (90.108.AC[02]) - DECALS, SAFETY AND INFORMATION, LH (90) - PLATFORM, CAB, BODYWORK AND DECALS
90.108.ac 03
19
9
24
13
11
26
25
1
28
11
2
12
19
20
30
12
27
3
14
12
10
29
7
1
6
23
8
5
18
22
21
4
12
15
1
12
16
11
17
FIT
1:1
100%

Артикул

Название

Примечание

Количество

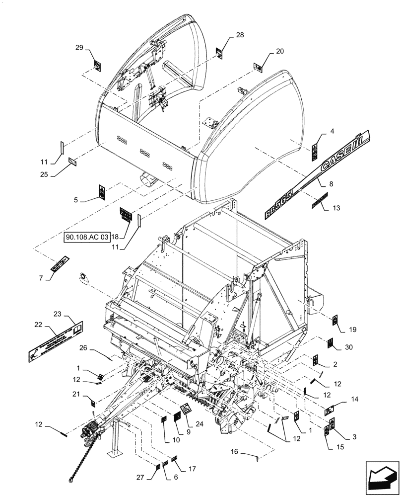
1

47377884

WARNING DECAL

Cutting Hazard

3шт.

2

84004734

WARNING DECAL

Entanglement Hazard

4шт.

3

47361329

DANGER DECAL

Control Valve

4шт.

4

87635954

DECAL

CIH Logo

1шт.

5

47361241

WARNING DECAL

Crush Hazard

1шт.

6

47361278

DANGER DECAL

Rotating PTO, Entanglement Hazard

1шт.

7

47361328

DANGER DECAL

Entanglement Hazard

1шт.

8

47469337

DECAL

RB565 LH

1шт.

9

47551346

DECAL

ATTENTION, Clutch

1шт.

10

87521354

DECAL

CV Clutch Lube

1шт.

11

86547782

REFLECTOR,YELLOW

2шт.

12

165109

DECAL

Lube Fitting

9шт.

13

47469336

DECAL

Premium

1шт.

14

47387483

DECAL

Hydraulic Lockout

1шт.

15

718861

DECAL

Lube Interval

2шт.

16

47361285

WARNING DECAL

500 RPM, Entanglement Hazard

2шт.

17

47361283

DANGER DECAL

1000 RPM, Entanglement Hazard

1шт.

18

47404857

DANGER DECAL

Front Cover

1шт.

19

84439510

DECAL

Crushing Hazard, Dedicated Jacking Point

2шт.

20

47388947

DECAL

Net Routing

1шт.

21

449973

DECAL

Lifting Hazard

2шт.

22

84176044

DECAL

Torque, 21L Tires

2шт.

23

87035506

DECAL

Torque, 18L Tires

2шт.

24

47551341

DECAL

Oil Level

1шт.

25

47489497

DECAL

Latch Location

1шт.

26

47377143

DANGER DECAL

Pickup Crush Hazard

1шт.

27

47867130

DECAL

Tiedown Point

2шт.

28

47943405

DECAL

Twine Routing, Net/Twine

1шт.

29

47943417

DECAL

Twine Routing, Twine

1шт.

30

47669694

DECAL

Shipping Bracket

1шт.

Выбрано товаров: 30